密炼机功能模型图

橡胶炼胶机下载_solidworks模型_solidworks2015三维模型 - 机械5
图片尺寸815x520
串联式密炼机
图片尺寸720x776
一种开炼机
图片尺寸2720x1454
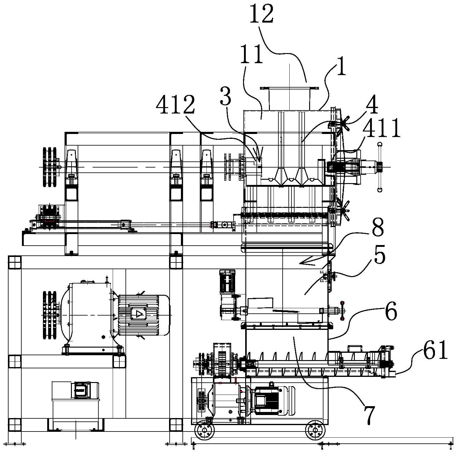
250l量产型下落式密炼机
图片尺寸600x600
串联密炼机
图片尺寸883x562
一种多功能的密炼机的制作方法
图片尺寸1000x826
cn110405971a_一种密炼机系统
图片尺寸1000x754
双液压密炼机
图片尺寸579x658
桌面密炼机(55ml).png
图片尺寸1824x960
一种新型密炼机倒料装置的制作方法
图片尺寸986x1000
一种用于橡胶混炼的密炼机的制作方法
图片尺寸1000x946
密炼机(nl80)-爱企查
图片尺寸1110x975
永睿机械提供的连续密炼机技术参数分享
图片尺寸1155x592
butter 25kg promotion
图片尺寸800x615
开练机三维装配图 - ug机械设备模型下载 - 沐风图纸
图片尺寸820x664
供应产品
图片尺寸1357x1162
75l密炼机·不错的参考数据,标准的参考数据
图片尺寸291x218
一种爽滑母料粒加工用密炼机的制作方法
图片尺寸1000x654
实验/生产开合式密炼机
图片尺寸906x640
蒸炼机
图片尺寸1507x1491