富氢水机电路图

多功能即饮式富氢水机控制电路的制作方法
图片尺寸1000x461
挑选富氢水机问这两个问题立省3000元
图片尺寸850x468
一种富氢水机的制作方法与工艺
图片尺寸1000x555
天创tchs-r0/40l纯水机改进后的控制电路
图片尺寸378x372
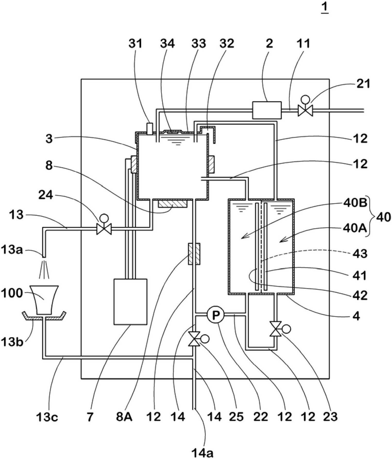
富氢水供给器
图片尺寸1521x1780
电热水器电路图04
图片尺寸637x332
富氢水供给器的制作方法
图片尺寸815x1000
电解水生成装置,具备该装置的富氢水供给器及透析液制备用水的制造
图片尺寸803x1000
2022最新权威富氢水机十大排名品牌公布
图片尺寸974x981
研坤富氢水机
图片尺寸2365x3543
深度分析家用富氢水机发展阶段及趋势
图片尺寸692x774
三级过滤电解富氢水6l大水箱净水机中性富氢净水机澳兰斯办公室用净水
图片尺寸790x657
一种管道式浴用富氢水发生装置制造方法及图纸
图片尺寸408x385
意达吉日本原装富氢水机水素水机直饮水机-浙江意达吉净水科技有限
图片尺寸666x768
富氢水机10001500w智能控制电源
图片尺寸1440x1920
吸氢机厂家高氢流量吸氢机氢气水机富氢水富氢水杯
图片尺寸1755x1053
什么叫富氢水社区水站
图片尺寸720x720
云川电解富氢水机.#同城热门话题 《品牌溯源》作为央视的一 - 抖音
图片尺寸1440x1920
其实,面对众多的家用富氢水机品牌,单纯的说某一个品牌的产品性价比高
图片尺寸1260x1280
富氢水直饮水机|家用净水器******|富氢水机
图片尺寸500x638