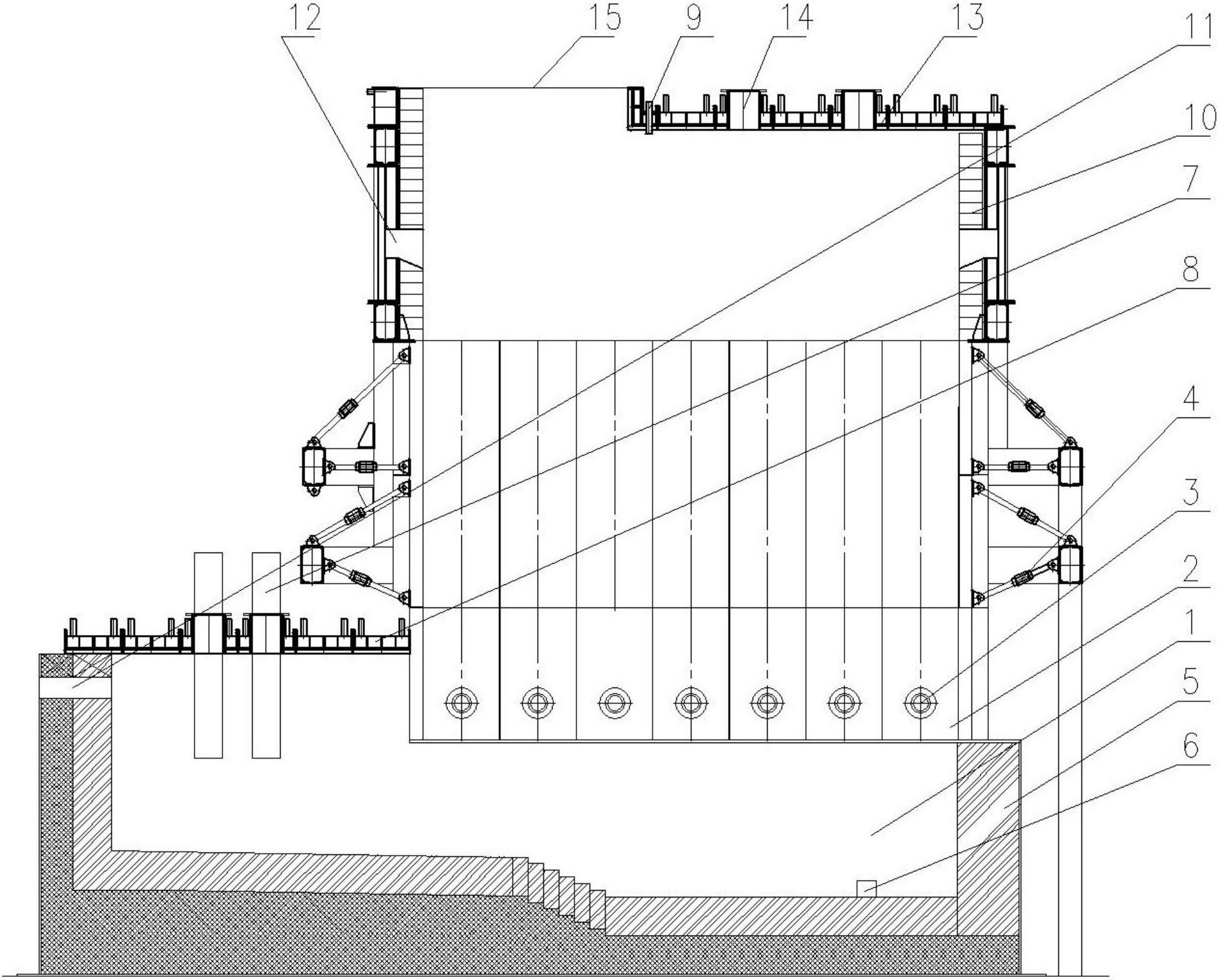
富氧侧吹炼铜炉结构图

cn102796883a_一种针对复杂难处理金精矿的富氧侧吹熔炼炉失效
图片尺寸1000x718
富氧侧吹熔池熔炼炉的制作方法
图片尺寸753x1000
一种富氧侧吹双区熔炼炉
图片尺寸1540x1328
侧吹炉
图片尺寸1000x720
回转式侧吹炼铜炉的制作方法
图片尺寸1000x404
富氧侧吹炉熔池熔炼铜镍矿的生产实践
图片尺寸1517x2107
cn103667738a_富氧侧吹双区熔池熔炼炉及其含铜复杂物料炼冰铜方法
图片尺寸640x464
本实用新型的圆形立式富氧侧吹熔池熔炼炉,包括炉身和钢架结构,所述炉
图片尺寸716x1000
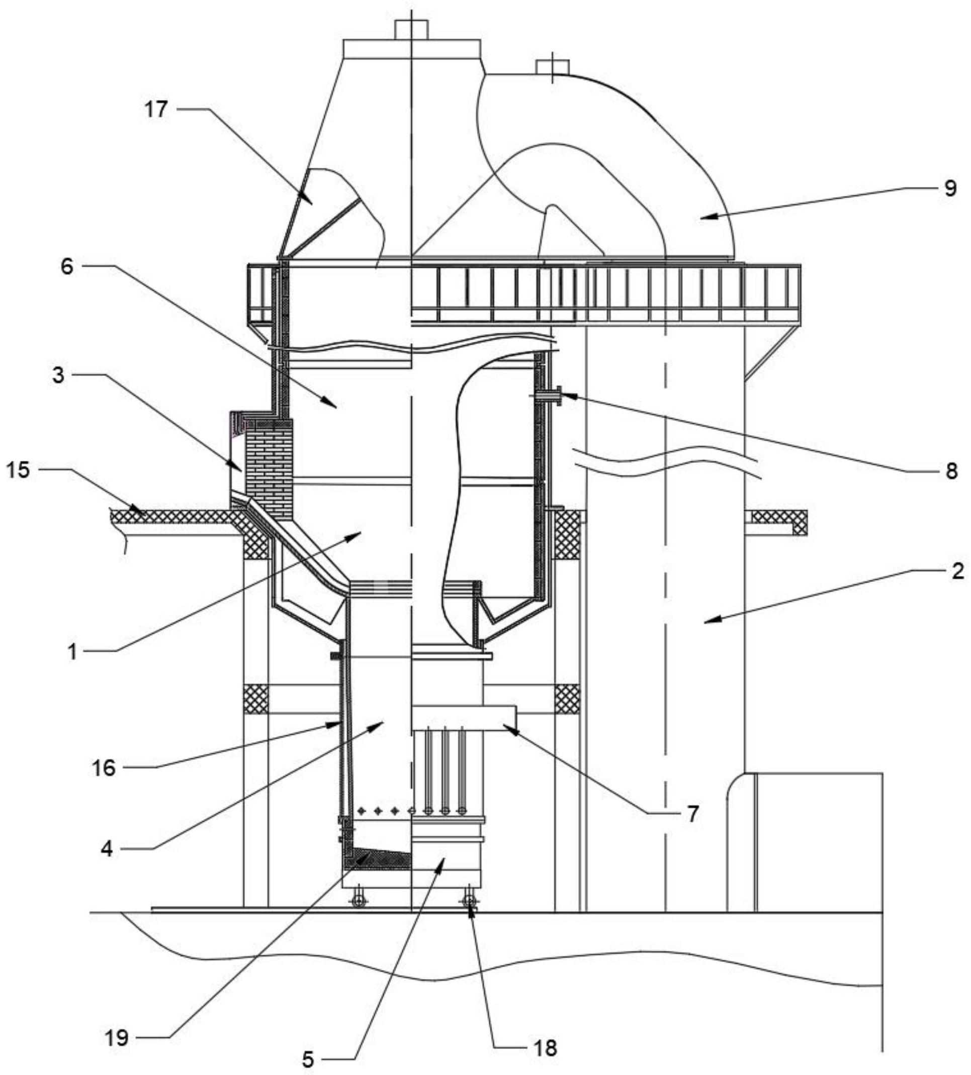
富氧侧吹炉,熔池熔炼炉
图片尺寸1844x834
hed富氧侧吹电路板焚烧熔炼炉及焚烧方法
图片尺寸1931x2139
cn101275185a_一种富氧侧吹熔池熔炼粗铜的生产工艺及其专用设备失效
图片尺寸2261x1024
一种圆形立式富氧侧吹熔池熔炼炉的制作方法
图片尺寸717x1000
cn201634742u_氧气侧吹金属熔融还原炉有效
图片尺寸800x973
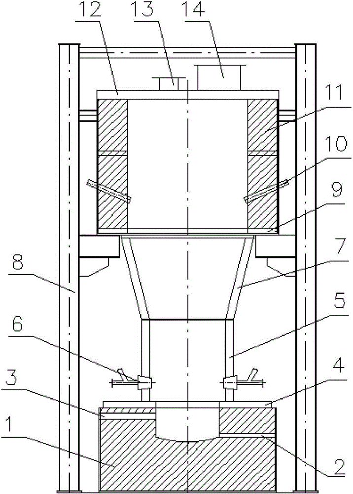
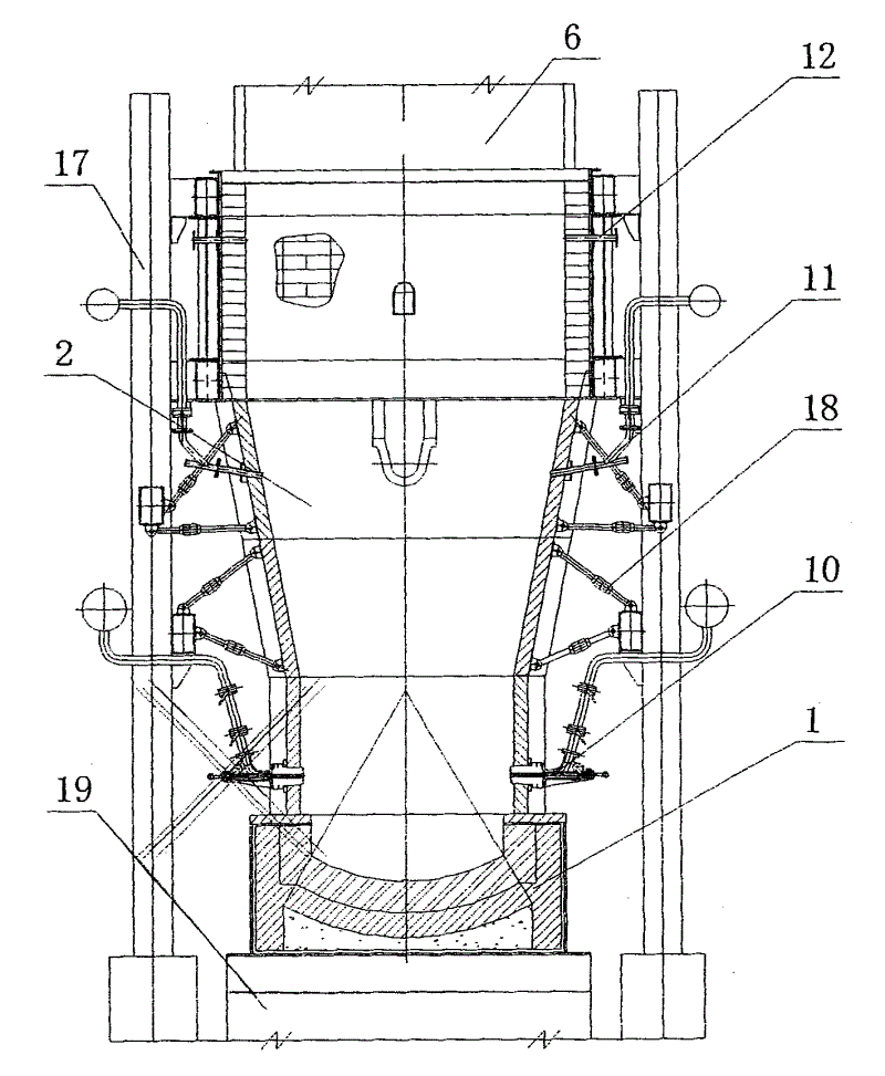
一种富氧侧吹双区熔池熔炼炉
图片尺寸659x449
一种富氧侧吹熔炼炉的制作方法
图片尺寸1000x749
高富氧底吹熔池炼铜新工艺反应炉如图
图片尺寸359x155
lf炉设备简介
图片尺寸893x480
竖式侧吹熔炼炉的制作方法
图片尺寸872x1000
高炉
图片尺寸500x581
高效铜侧吹熔炼炉
图片尺寸1950x1568