对夹式连接

对夹连接
图片尺寸397x250
水系统蝶阀|手动|对夹
图片尺寸500x346
对夹蝶阀与管道连接图
图片尺寸700x361
对夹式蝶阀如何和管道连接-般德阀门
图片尺寸600x596
对夹式蝶阀与消防管道采用法兰连接 铜管与阀门连接,铜管一般采用焊接
图片尺寸600x450
对夹式蝶阀如何正确安装方法
图片尺寸510x461
对夹式蝶阀安装步骤2
图片尺寸1080x1080
沟槽蝶阀球墨铸铁阀门卡套连接手柄对夹式蝶阀手动软密封蝶阀
图片尺寸977x977
揭秘对夹式蝶阀的正确安装方法避免不必要的损失
图片尺寸467x394
对夹连接有效的提升了对夹式硬密封蝶阀的利用
图片尺寸700x280
cn200946730y_对夹式管道接头失效
图片尺寸1264x1333
手动对夹式蝶阀连接尺寸: 公称通径 (dn) l d1 d z-φd h h0 a b
图片尺寸1136x852
中线软密封对夹式蝶阀
图片尺寸500x500
对夹式蝶阀是用双头螺栓将阀门连接在两管道法兰之间,法兰式蝶阀是
图片尺寸953x1242
2507双相钢对夹式蝶阀 液动对夹式双相钢蝶阀 船用双相钢蝶阀 脱硫塔
图片尺寸750x900
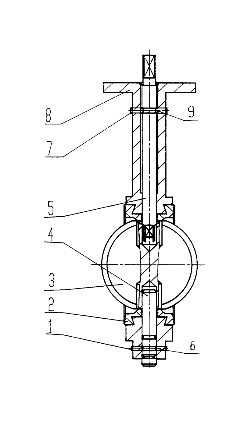
对夹式无销连接蝶阀
图片尺寸800x1405
信号蝶阀 型号xd371x-10 16 对夹式连接 蝶阀厂家
图片尺寸499x439
船用液动控制铜板浸没式蝶阀ccs产品认证
图片尺寸1125x1701
q71不锈钢304 cf8对夹式 超薄型球阀 供水设备管道
图片尺寸750x500
h76x 蝶式止回阀由阀体,阀瓣,阀杆及弹簧等零件组成,采用对夹连接
图片尺寸503x376