导光板结构

一种导光板渐变式v-cut结构-爱企查
图片尺寸514x227
板不用丝印导光板是一种与传统网点导光板不同的微分子棱镜结构导光板
图片尺寸951x477
免丝印导光板,led面板灯首选,特殊尺寸可订做!
图片尺寸750x556
侧入式背光的组成:背光主要由灯条/light bar(led fpc),导光板/lgp
图片尺寸635x441
一种平板电脑用带有光线聚焦结构的导光板的制作方法
图片尺寸443x236
一种玻璃导光板及其制作方法技术
图片尺寸1000x928
cn1179216a_树脂制导光板失效
图片尺寸938x357
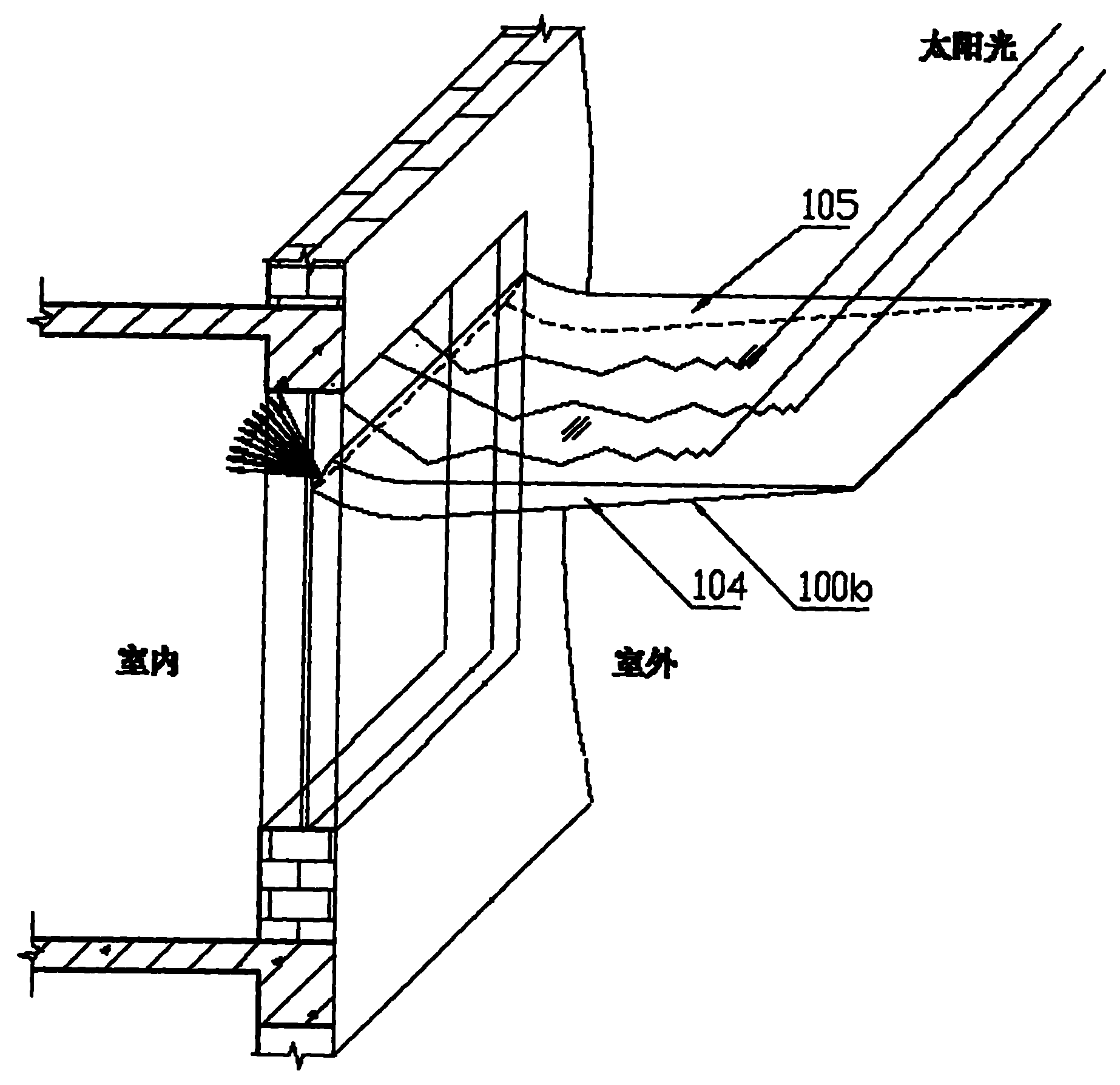
一种用于建筑墙体采光及遮阳采光的导光板
图片尺寸1846x1789
浴霸led面板灯里面的导光板可以擦吗为什么老板说摸一下就废了呢
图片尺寸750x517
一种改善背光源尾部亮线的新型导光板网点结构-爱企查
图片尺寸1823x1446
从上图可知,led背光源的制造,是从由丙烯酸树脂制作导光板
图片尺寸598x337
松下三色led导光板筒灯嵌入式客厅变光3w5w调色开孔7~8公分755045
图片尺寸790x2025
led背光导光板网点设计介绍
图片尺寸1080x810
【技术汇】废弃光伏面板资源化利用的技术进展
图片尺寸726x591
一种楔形面上具有光学微结构的导光板-爱企查
图片尺寸1731x1082
led封装尺寸多样通常以尺寸命名
图片尺寸664x407
cn212515121u_一种新型锯齿结构导光板有效
图片尺寸1916x1449
cn207164297u_高亮度导光板结构失效
图片尺寸1865x1465
本实用新型公开了一种lcd液晶模组上用的导光板,包括导光板安装结构
图片尺寸1000x891
导光结构=从上到下依次为磨砂纸-导光板-反光纸-2.jpg
图片尺寸800x600