导光管结构图

导光管图文解析
图片尺寸920x1302
导光管剖面图.以上文字说明这张图片.
图片尺寸1289x1004
德阳厂家直供导光管导光筒光导照明太阳光导入采光系统车库体育馆
图片尺寸800x944
2 自然光光导照明系统结构图
图片尺寸495x516
一种防潮型地下室导光管的制作方法
图片尺寸1000x761
激光管结构_副本_副本
图片尺寸576x768
一种地下建筑屋面导光管采光构造
图片尺寸368x576
所述混凝土屋面的下端设置有附加结构,所述保温层的内部设置有上导光
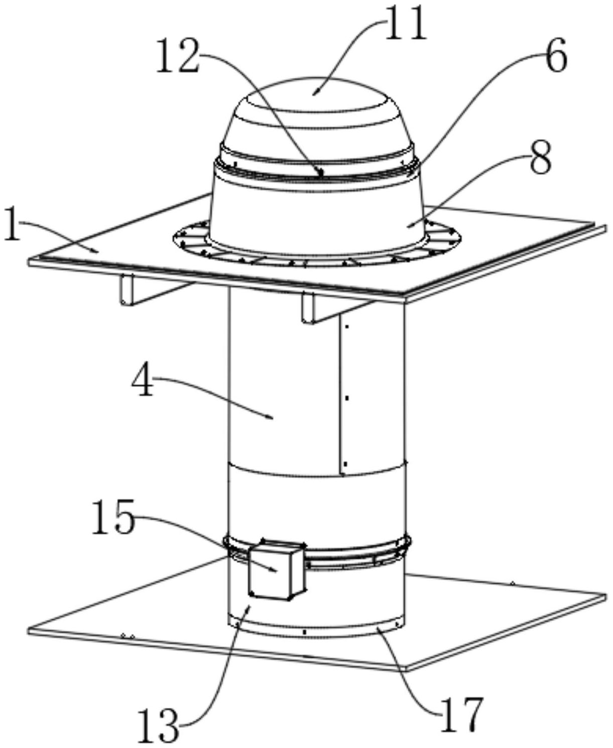
图片尺寸1221x1489
一种内设led照明装置的光导管的制造方法
图片尺寸1000x704
半导体光发射二极管的基本结构
图片尺寸600x1275
管道式日光照明装置
图片尺寸640x512
导光管示意图
图片尺寸560x421
光电管
图片尺寸472x305
光导照明系统结构图
图片尺寸738x726
利用内能改变光照强度的农业养殖用导光管照明装置,其结构包括采光罩
图片尺寸532x800
班弗圆顶型广东导光管,导光管价钱,导光管价格
图片尺寸760x971
发光二极管灯管结构
图片尺寸2387x1550
一种导光管照明装置用防水结构的制作方法
图片尺寸879x1000
什么是导光管采光系统|光导照明|日光照明|无电照明?
图片尺寸600x400
深化设计包含导光系统的设计,导光筒穿越结构节点设计,深化设计应综合
图片尺寸379x242