导向杆结构

如图 1,气缸se63x150,导向杆为30 304不锈钢; 2,推板由气缸带动做
图片尺寸1423x739
cn201516682u_细钢丝穿孔导向杆有效
图片尺寸1096x1000
汽车构造-转向系2方向机ppt
图片尺寸1080x810
转向横拉杆是什么转向横拉杆作用转向横拉杆位置在哪转向横拉杆是什么
图片尺寸420x247
汽车转向拉杆有什么用
图片尺寸411x290
机械转向系的维修
图片尺寸982x913
直拉杆
图片尺寸1080x810
二十三3转向器
图片尺寸542x378
转向系 steering system
图片尺寸1080x810
cn101774386a_一种径向转向架扭杆式自导向机构失效
图片尺寸2516x1184
互联网
图片尺寸388x293
双导向杆手臂的伸缩结构cad图纸
图片尺寸901x503
连接环橡胶套 3—油缸 4—压缩阀总成 5—活塞及活塞杆总成 6—导向座
图片尺寸1201x336
火车的转向架具体结构是怎么样的
图片尺寸2499x1284
3d打印机设计-机械结构设计模型设备设计【三维sw】【含15张cad图纸和
图片尺寸1200x800
火车的转向架具体结构是怎么样的
图片尺寸2294x1448
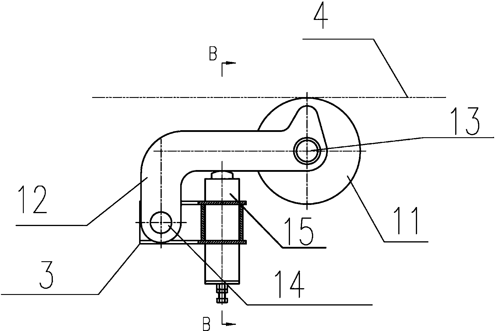
cn207045346u_一种单轨游览列车转向架导向装置有效
图片尺寸1690x1129
转向拉杆/转向横拉杆 32_0308
图片尺寸1287x909
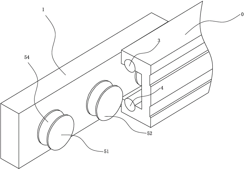
cn205832019u_一种导向机构,往复运动装置及橡筋牵引装置有效
图片尺寸1000x694
crh5动车组转向架简介
图片尺寸1080x810