导弹发射架设计

双联装导弹发射架
图片尺寸1737x2158
防空导弹发射架
图片尺寸1024x1024
一种新型简易导弹发射架的制作方法
图片尺寸1000x843
防空导弹发射架
图片尺寸1024x1024
导弹发射器
图片尺寸1280x575
无论目标方向如何,都可以发射导弹.
图片尺寸925x1233
防空导弹发射架
图片尺寸1024x1024
图文f22a采用的伸缩吊架式导弹发射架
图片尺寸555x336
用于模拟火箭发射的发射架的制作方法
图片尺寸772x1000
11d 导弹与 发射架结构图
图片尺寸658x521
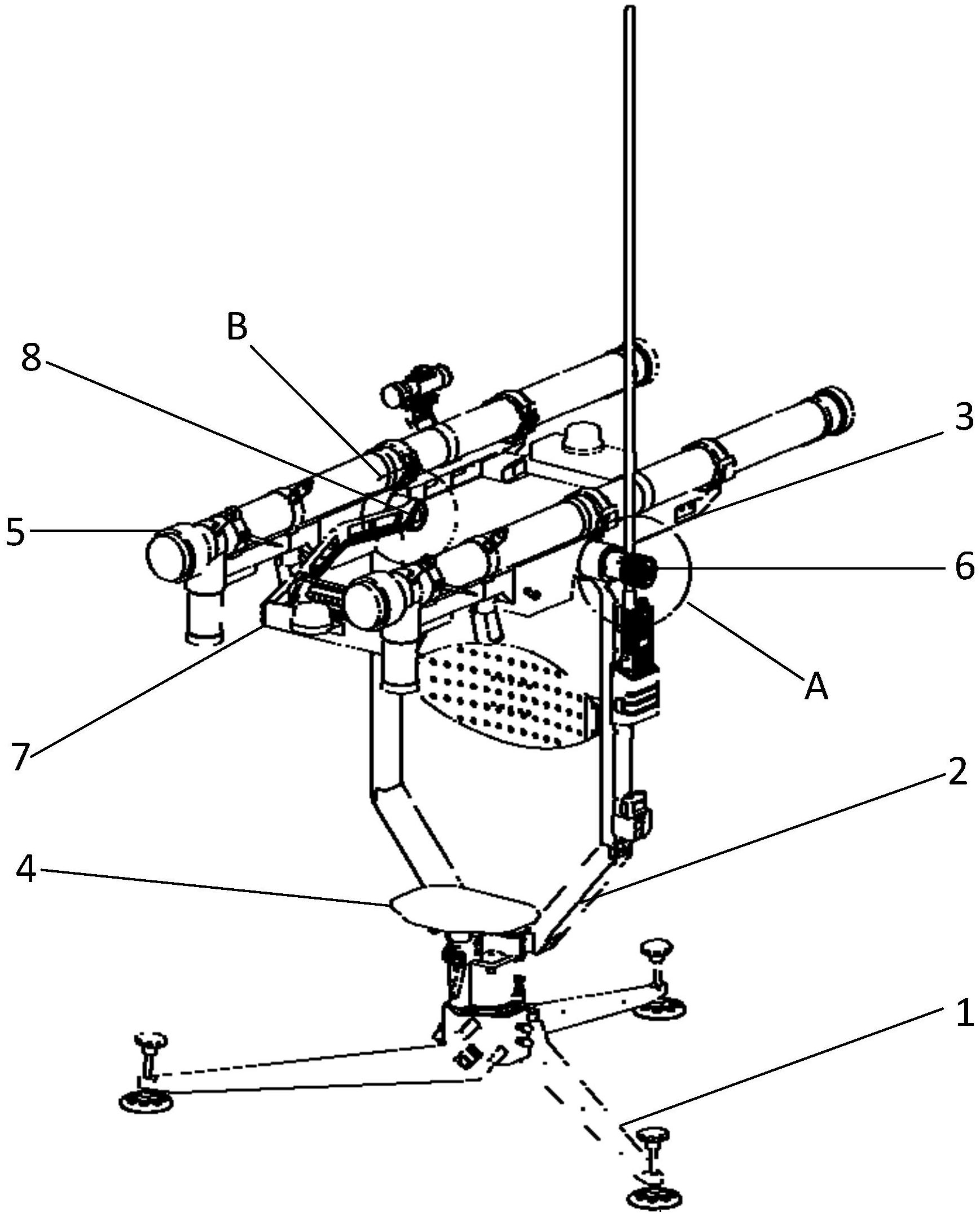
导弹发射装置
图片尺寸962x1000
中国pla 红旗-2 防空导弹 发射架 戈壁
图片尺寸520x390
2号这样的多级液体导弹快的多,并且可以机动作战,不用局限在发射塔架
图片尺寸1902x1569
战斗机的导弹挂架的工作原理是什么
图片尺寸963x1260
设计的原因是当时技术不到位,还不能做到导弹垂直发射并在空中转弯后
图片尺寸640x588
fim-92毒刺导弹发射器3d模型
图片尺寸1480x800
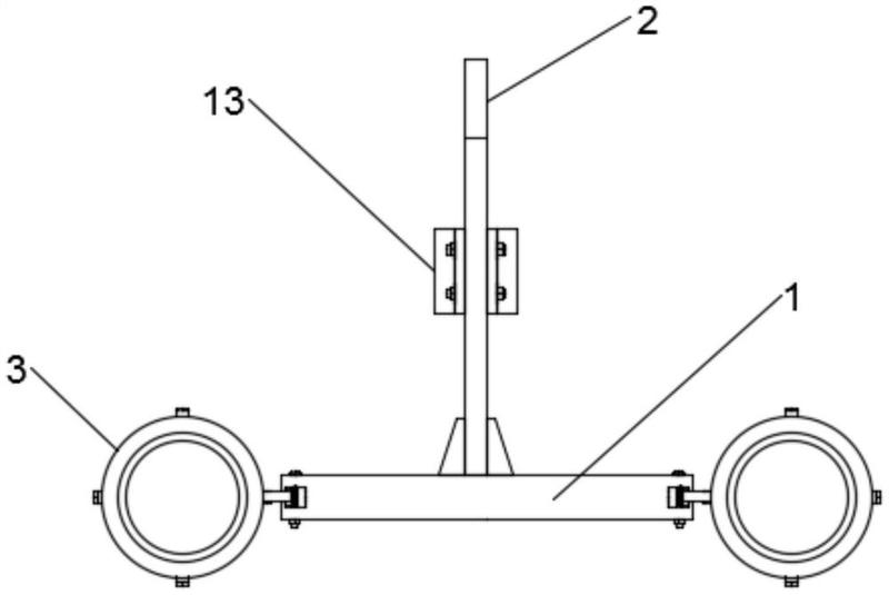
导弹发射装置的制作方法
图片尺寸962x1000
俄罗斯的火箭发射架采用了"开花"式设计.
图片尺寸756x504
一种适用于无人机发射的微型导弹发射装置-爱企查
图片尺寸800x535
双悬臂设计性能卓越的mk26发射器为何台湾进口的版本却是阉割版
图片尺寸650x525