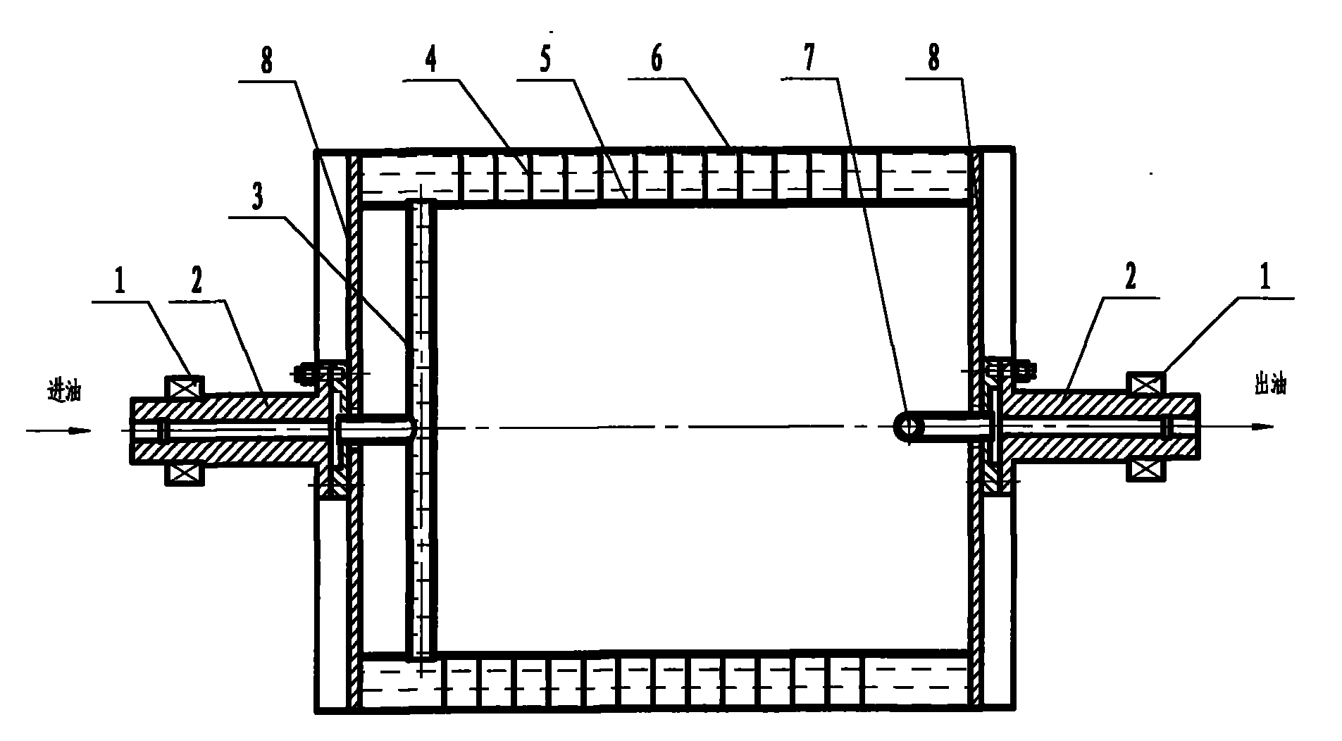
导热油加热辊结构

一种加热镜面辊
图片尺寸1598x789
加热辊结构
图片尺寸820x421
壳的主轴,设置在辊壳两端支撑主轴的支撑法兰,所述主轴为中空管状结构
图片尺寸1787x808
一种电磁热辊的电磁加热装置的制作方法
图片尺寸341x443
一种水冷型电磁加热辊
图片尺寸1965x1004
加热结构有两种方式,一种是辊筒内部采用大功率内辊筒,外侧有导热油箱
图片尺寸443x248
具体结构示意图如下:其热辊纤维后纺热处理的主要作用是烘干及纤维的
图片尺寸924x354
一种燃气式导热油加热器的制作方法
图片尺寸863x1000
cn2125115u_加热炉出料悬臂辊失效
图片尺寸800x552
供应压光辊油加热器,压光辊专用导热油加热器
图片尺寸600x486
电磁加热镜面辊
图片尺寸1742x1114
一种金属管绕制线圈的电磁加热辊的制作方法
图片尺寸1000x540
浆纱机浆染联合机的节能型导热油烘筒
图片尺寸1905x1052
滚筒式展料加热结构的制作方法
图片尺寸1000x765
cn201501918u_一种钢坯加热炉悬臂辊道失效
图片尺寸2580x1488
热压机导热油加热器
图片尺寸750x493
一种用于钢坯加热炉的水冷悬臂辊道制造技术
图片尺寸1000x331
cn201463479u_以导热油为介质的盘管滚筒式烘干机失效
图片尺寸1408x646
无锡恒达电镀不锈钢加热辊,导热油红缸,烫平热辊,厂家定制加工
图片尺寸1440x1080
厂家直销导热油加热辊筒,欢迎订购
图片尺寸960x718