导盲棍结构

一种基于机器学习的智能导盲杖的制作方法
图片尺寸775x1000
智能导盲杖
图片尺寸693x1474
一种基于机器视角的多功能导盲拐杖的制作方法
图片尺寸574x1000
光电导盲杖的制作方法
图片尺寸558x647
一种景区用智能语音导盲拐杖的制作方法
图片尺寸866x1000
一种人工智能导盲杖的制作方法
图片尺寸446x526
一种多功能盲杖
图片尺寸1718x1090
智能导盲设备解决盲人出行难题
图片尺寸1080x502
01)i)_soopat 专利搜索
图片尺寸1260x2664
cn101612081a_一种盲杖失效
图片尺寸806x1521
一种智能导盲手杖的制作方法
图片尺寸321x444
户外知识小讲堂——登山杖
图片尺寸812x919
一种基于双超声波的导盲杖及导盲方法技术
图片尺寸1000x993
一种智能的导盲杖
图片尺寸782x1000
一种组合式导盲杖的制作方法
图片尺寸1000x694
铝合可 金伸缩 盲杖 手杖 盲人拐杖 盲人手杖 助行器四节五节
图片尺寸756x714
智能主动导盲拐杖
图片尺寸871x1440
一种导盲手杖的制作方法
图片尺寸1000x504
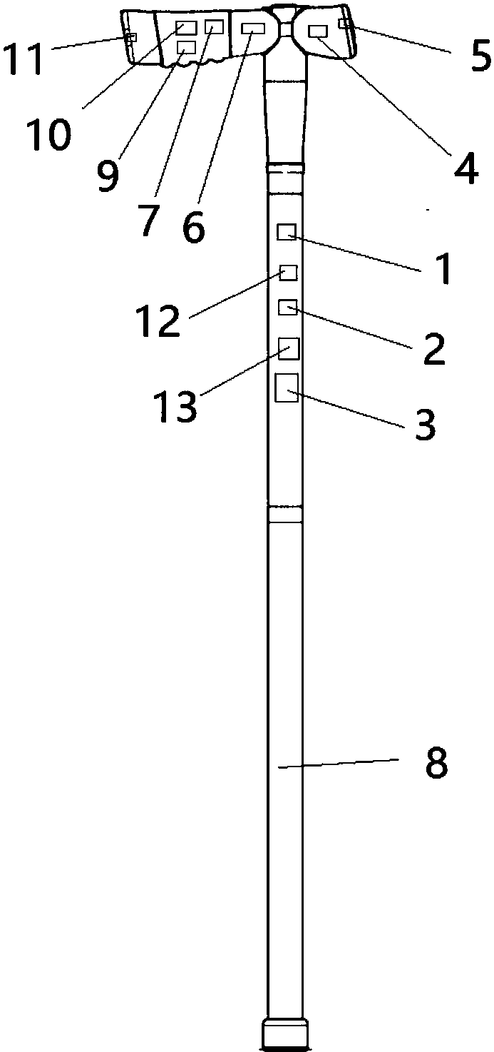
一种智能导盲杖的制作方法
图片尺寸436x1000
cn201596066u_导盲杖失效
图片尺寸1771x1232