封油环画法

cn1079901c_强制性密封油环失效
图片尺寸841x943
长期配套采购机械密封 骨架油封
图片尺寸605x858
油封不得不说的那些事儿
图片尺寸562x562
在什么情况下轴承的内侧要用挡油环
图片尺寸511x341
机械制图中油封怎么画?
图片尺寸278x220
指出图示轴系的结构错误,齿轮采用油润滑,轴承为脂润滑(用笔圈出错误
图片尺寸436x299
挡油环怎么画
图片尺寸500x381
挡油环与端盖的密封
图片尺寸322x203
1-1 《机械制图》国家标准中的一些规定
图片尺寸717x883
cn204804969u_轿车活塞环三道组合油环失效
图片尺寸991x1000
下面哪些结构在装配图中可按简化画法绘制?()
图片尺寸1220x321
用solidworks 怎么画个挡油环
图片尺寸302x421
浮动油封环使用说明及要求
图片尺寸600x450
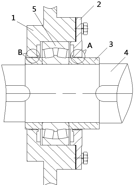
轴承内圈由挡油环和轴肩定位 轴承外圈由调整环和端盖定位 轴承
图片尺寸1080x810
5m/s 介质:液压油(矿物油基) 性能特点:odu型孔用密封圈,丁晴橡胶硬度
图片尺寸750x408
挡油环与轴承接触部分太高,影响轴承转动;28.应留有间隙以利
图片尺寸1047x408
cn207514090u_一种新型密封结构有效
图片尺寸450x620
yr1250电机油环,yrkk630电机甩油环
图片尺寸1023x700
油封制造技术
图片尺寸1000x963
在所述套体的内壁靠近开口端设置向内延伸且向内底倾斜的挡油环,该挡
图片尺寸404x443