封油环示意图

cn1079901c_强制性密封油环失效
图片尺寸841x943
图1 传统油封示意图
图片尺寸360x415
油缸密封圈的安装方法
图片尺寸400x225
包括有转子,油封体,浮环密封,密封齿以及挡板;该转子的轴表面设置有
图片尺寸994x930
在什么情况下轴承的内侧要用挡油环
图片尺寸511x341
cn204804969u_轿车活塞环三道组合油环失效
图片尺寸991x1000
活塞环油环的作用及种类
图片尺寸716x422
油封基础知识全在这里了
图片尺寸1080x589
油封sc - 热门商品专区
图片尺寸972x599
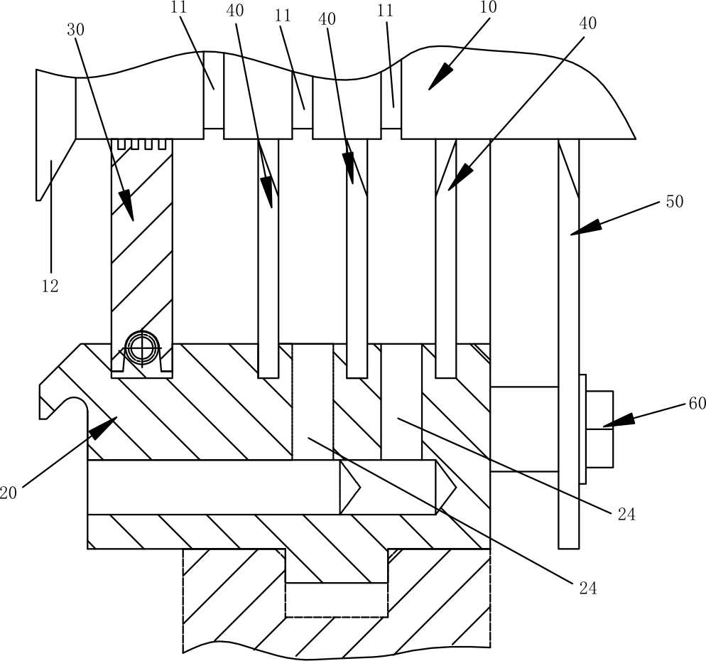
一种风电齿轮箱滑环管密封结构的制作方法
图片尺寸759x579
活塞环式密封装置如图2-53所示,常用于小型增压器中作为油封.
图片尺寸429x292
柴油发电机组活塞环中油环的分类
图片尺寸450x412
油封的安装方法产品性能功能说明产品工业细节
图片尺寸1275x1700
在靠近油封位置在轴上可增加一个挡油环!
图片尺寸800x500
旋转轴唇形油封(密封圈)的安装方法示意图
图片尺寸3937x5343
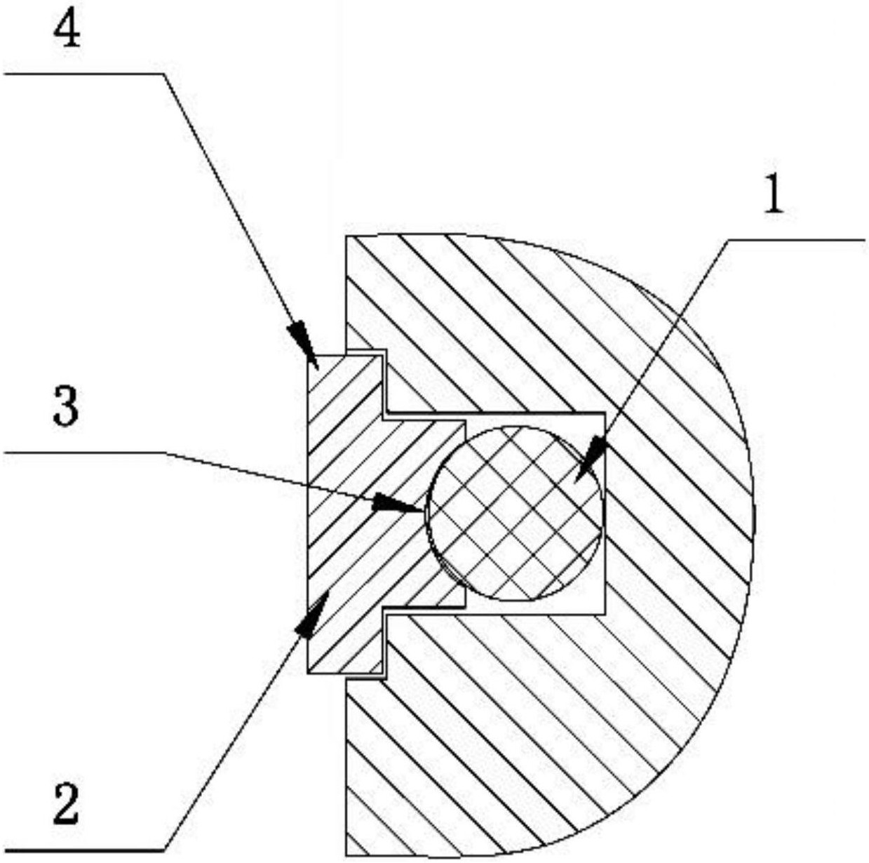
本发明提供一种液压马达配油盘密封装置,包括:密封环和o形密封圈,所述
图片尺寸1239x1230![[贰]常见工程机械油缸密封件都有哪些类型](https://i.ecywang.com/upload/1/img2.baidu.com/it/u=2782869032,868374234&fm=253&fmt=auto&app=138&f=JPG?w=500&h=433)
[贰]常见工程机械油缸密封件都有哪些类型
图片尺寸600x519
油环 双向倒角不用分方向,但同向倒角的要分
图片尺寸504x300
单缸柴油机活塞环怎样正确安装三道气环一道油环 请绝顶高手回答 详细
图片尺寸600x800
是主要的活塞杆密封件,安装在液压缸端盖内侧,作用是防止液压油外漏
图片尺寸600x305