射孔枪规格

zx-6400石油射孔枪数控盲孔专机
图片尺寸2720x1368
sy5562-2016 油气井用射孔枪 石油工业出版社
图片尺寸800x800
5mm口径接隔膜泵压力桶用油漆喷枪
图片尺寸745x560
《cf》射孔枪——m231步枪
图片尺寸600x375
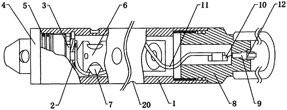
一种新式射孔枪定位结构
图片尺寸1000x385
钨还枪叵倒夜腊踩途妹龅"战略性矿产"
图片尺寸660x768
油管传输射孔工艺
图片尺寸1920x1080
射孔枪
图片尺寸240x180
普光气田长井段延时起爆射孔技术
图片尺寸1654x595
石油射孔枪枪体结构优化设计
图片尺寸1417x1927
108h8平台首次应用分簇射孔带压电缆输送工艺和连续油管传输射孔方式
图片尺寸900x599
复合射孔stimgun简介
图片尺寸920x1303
中石化多级射孔在中石油昭通页岩气示范区创新纪录
图片尺寸700x464
有枪身射孔枪 枪身是射孔器重要部件之一,主要两作用: (1)射孔弹载体
图片尺寸1080x810
由油管或环空加压,起爆压力起爆器,将水平井内定向射孔枪中的射孔弹起
图片尺寸552x328
供应4 1/2石油套管 管壁探伤测试 产
图片尺寸1000x1000
m231射孔枪
图片尺寸575x396
m231射孔枪
图片尺寸575x263
中油测井西南分公司射孔弹走俏国际市场
图片尺寸600x400
该射孔枪下入系统采用独特的槽形结构设计,可为射孔提供足够的表面积
图片尺寸775x388