射水抽气器结构

逆止阀, 逆止阀,射水泵停 水防止工作水倒入 凝汽器 射水抽气器: 射水
图片尺寸1080x810
供应射水抽气器,射水抽汽器
图片尺寸538x376
一种自密封射水抽气器
图片尺寸1578x2474
提高1_射水抽气器效率ppt
图片尺寸1170x810
射水抽气器
图片尺寸523x376
射水器,射水抽气器,射水抽气器结构,射水抽汽器原理
图片尺寸360x464
cn211202442u_一种蜗旋缓冲式射水抽气器有效
图片尺寸1000x716
cn203051254u_一种射水抽气器失效
图片尺寸472x704
cn201574789u_一种射汽抽气器的疏水装置有效
图片尺寸1871x1218
一种高效射水抽气器-爱企查
图片尺寸442x238
cn204553360u_一种射水抽气装置失效
图片尺寸396x706
高效低耗射水抽气器
图片尺寸438x403
一种自密封射水抽气器的制作方法
图片尺寸634x1000
射汽抽气器
图片尺寸893x557
一种蜗旋缓冲式射水抽气器的制作方法
图片尺寸1000x711
射汽抽气器结构设计计算.pdf
图片尺寸792x1120
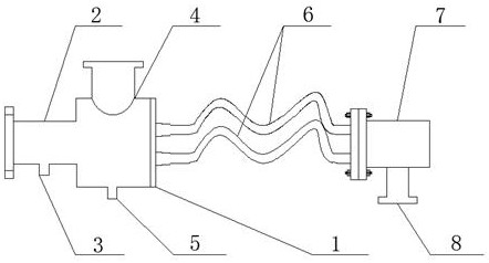
一种环保型多通道射水抽气器的制作方法
图片尺寸443x320
射水抽气器其主要结构有进水短管,吸入混合室,蜗旋喷咀,缓冲室,喉管段
图片尺寸244x443
一种射汽抽气器的制作方法
图片尺寸876x407
zpbd型气,水两用喷射泵总成 (低压) - 济南泰达泵业有限公司
图片尺寸700x886