小便池手绘

水暖衬里陶瓷小便池矢量插图衬里画照片
图片尺寸300x300
一种新型自动出湿巾的小便池的制作方法
图片尺寸520x1000
小便池矢量图
图片尺寸1024x881
明亮的蓝色手绘学校性别男便便箱标志在艺术现代风格的空间为文字.
图片尺寸373x300
白色小便池图片
图片尺寸200x300
男生这样使用小便池不但科学还防溅保洁阿姨都竖起了大拇指
图片尺寸727x521
一种接地式小便池-爱企查
图片尺寸488x800
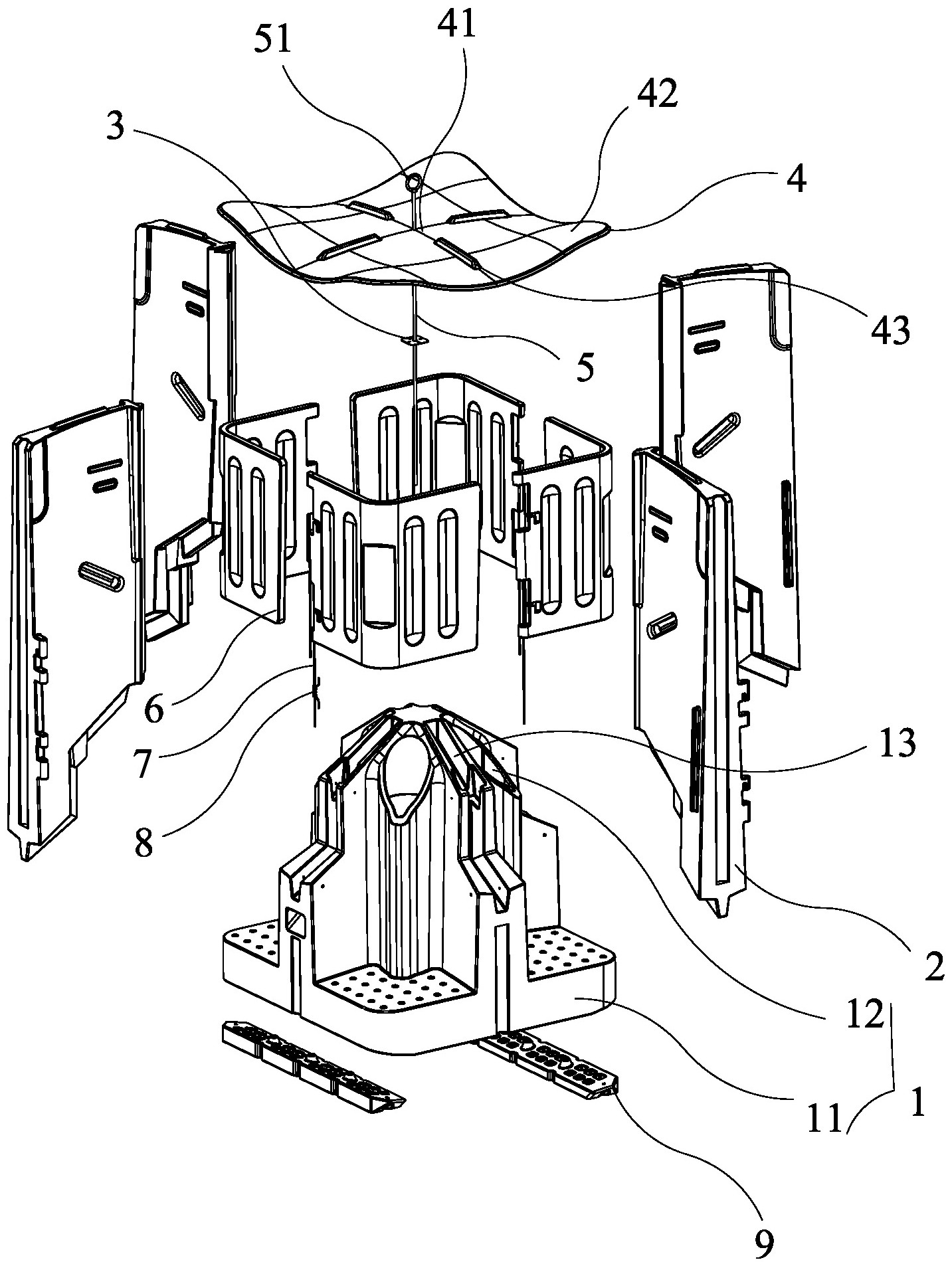
组合式小便池-爱企查
图片尺寸1433x1906
陶瓷小便池衬里画
图片尺寸860x1200
一种新型自动出湿巾的小便池-爱企查
图片尺寸739x1426
一种小便器-爱企查
图片尺寸883x1342
具有尿检功能的男性小便池组合式小便池的制作方法
图片尺寸514x1000
一种户外移动男士小便池的制作方法
图片尺寸1000x927
男厕所小便池简笔画
图片尺寸483x946
一种活氧消毒式小便池的制作方法
图片尺寸792x1000
幼儿小便池简笔画
图片尺寸564x500
一种防堵小便池的制作方法
图片尺寸294x296
一种具有消毒清洁功能的男士小便池的制作方法
图片尺寸478x735
cn109024830a_一种便于手脚不方便医疗患者使用的小便池在审
图片尺寸875x1000
公共厕所,插画,小间,小便池
图片尺寸467x350