小口径栓分解图

自动装填步枪早就有了,为啥到二战时期各国还是普遍拉大栓?
图片尺寸431x340
健卫8小口径
图片尺寸658x345
西安东郊国棉五厂汉墓发掘简报
图片尺寸599x715
带摄像的小口径管道焊口局部封堵充氩装置的制作方法
图片尺寸1000x655
义大利1880年出厂的维特立m1870/87/16步枪
图片尺寸640x480
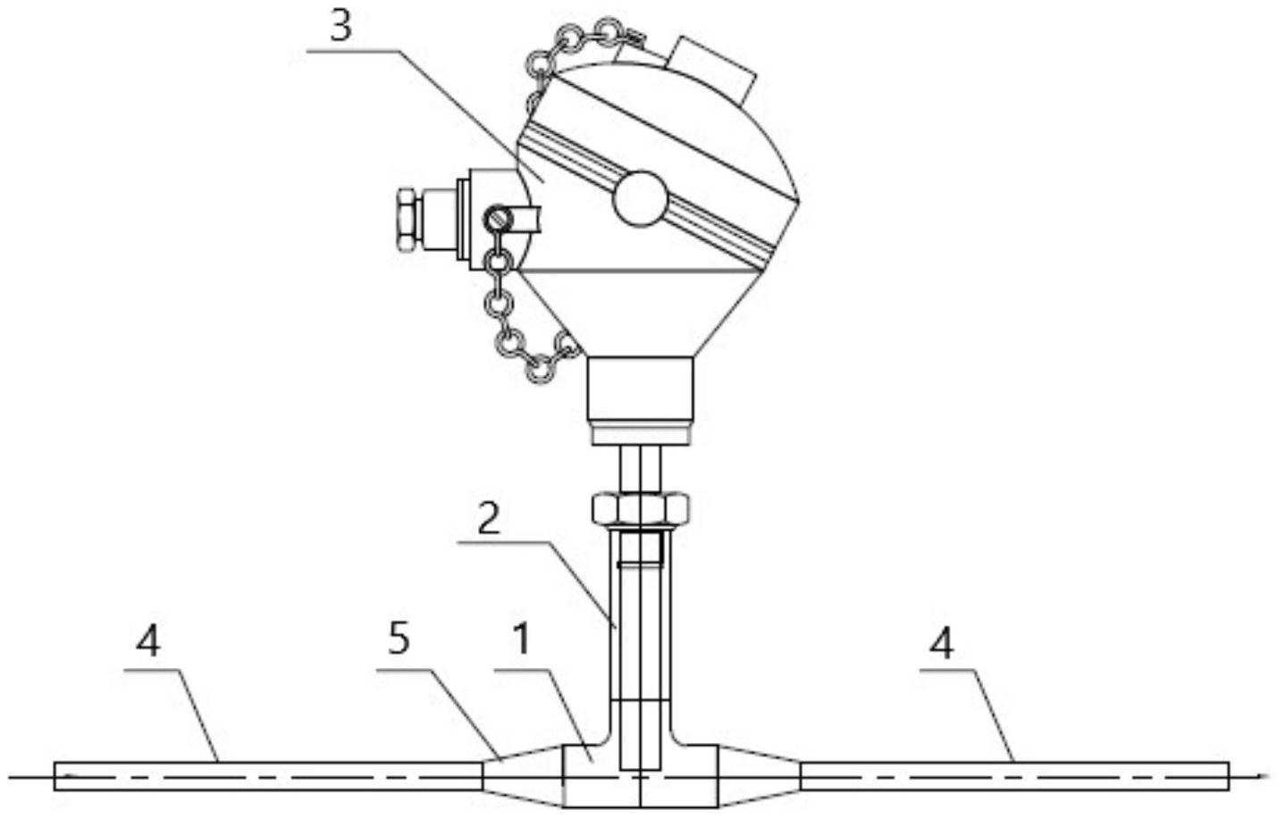
一种小口径管道测温装置-爱企查
图片尺寸1430x916
健卫8小口径运动步枪3d设计图_3dsmax_运动器械_3d模型_图纸下载_微小
图片尺寸658x406
精密光亮管知识解析:精密光亮管简介,精密光亮管行情介绍_钢管_小口径
图片尺寸1600x1472
小口径更精准鲁格22lr边缘发火弹精确步枪测评报告
图片尺寸640x480
复杂的机械,简单的原理【转】_魔兽世界吧_百度贴吧
图片尺寸350x186
南充一男子被采取刑事强制措施_赵某_运动步枪_小口径
图片尺寸1080x607
精工细作的cz457步枪 ,一支伴随青年射手成长的小口径武器
图片尺寸1080x810
小口径硬密封球阀
图片尺寸531x338
小口径弹药,中口径弹药的兴起较早,从早期后装弹药的单发栓动步枪开始
图片尺寸802x1000
ar20 ar7 半自动小口径生存步枪-3d打印模型
图片尺寸400x300
8mm普通弹全貌图及各部件分解图至于小口径的天生劣势,比如800米外的
图片尺寸640x392
无托步枪的秘密:3d动画带你了解无托步枪结构
图片尺寸1920x1080
表面改性静电纺丝pcu支架用于小口径血管的研究
图片尺寸799x348
轻型圆索栓 多规格316不锈钢 4 5 6 8 10 12寸羊角索栓 厂家货源
图片尺寸790x1100
ak步枪为什么那么精准它的这个设计细节决定成败
图片尺寸501x369