小森机墨辊调节图纸

印刷厂必备,最全的印刷机墨辊排列图(记得收藏好哦!
图片尺寸798x1058
2013小森印刷机s40操作说明-基本操作)
图片尺寸893x1263
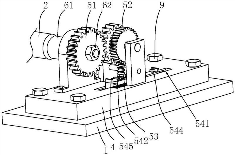
一种取墨辊的制作方法
图片尺寸1000x808
印刷厂必备最全的印刷机墨辊排列图记得收藏好哦
图片尺寸860x904
胶印实训操作10-12 项目十 供墨,供水部分调节 一,墨辊的拆装 以图
图片尺寸883x724
1 1小森sprin726水车墨辊系统图小森sprin726酒精车墨辊系统图rzu rvu
图片尺寸298x276
印刷车间必备,最全的印刷机墨辊排列图(收藏好过年拆装墨辊用)
图片尺寸362x489
一种层叠式柔版印刷机的印刷机构制造技术
图片尺寸867x664
印刷车间必备,最全的印刷机墨辊排列图(收藏好过年拆装墨辊用)
图片尺寸430x374
【cn209738535u】一种改进型四开四色印刷机传墨辊【专利】
图片尺寸427x318
印刷车间必备,最全的印刷机墨辊排列图(收藏好过年拆装墨辊用) - 知乎
图片尺寸960x690
其包括支架,设置在所述支架上且沿墨辊轴向伸入墨辊内的刮刀轴和沿所
图片尺寸800x528
一种用于印刷机墨辊的清洗装置
图片尺寸1000x977
印刷车间必备,最全的印刷机墨辊排列图(收藏好过年拆装墨辊用)
图片尺寸514x451
小森sprin726水车墨辊系统图小森sprin726酒精车墨辊系统图rzu
图片尺寸928x760
江阴汇通/1250宽/10色/七电机高速印刷机,带递墨辊,科赛2000e套色
图片尺寸1920x1920
「顶级干货」海德堡工程师告诉你水辊墨辊怎么调
图片尺寸640x480
0成交0支春风银星厂价供应彩印龙名片机墨辊水辊 定制各种胶辊 保障
图片尺寸1920x1920
cn107284021a_一种用于印刷机墨辊的浮动式恒压清洗装置有效
图片尺寸1856x822
中间辊对靠版墨辊的压力调节印后设备
图片尺寸300x218