尾气吸收装置图

法收集气体或吸收溶解度较大气体时,要注意熄灯顺序或加装安全装置
图片尺寸627x219
溶液吸收含so 的尾气(so 的体积分数约10%,其余为空气),实验装置
图片尺寸858x467
化学实验中的氯化氢的尾气处理装置_尾气吸收装置防倒吸_化学常见处理
图片尺寸248x253
在实验室采用如图所示装置进行气体的干燥收集和尾气处理合理的是
图片尺寸2014x811
一种尾气吸收塔-爱企查
图片尺寸2063x1331
一种反应尾气吸收装置
图片尺寸2424x1740
一种尾气混合吸收装置-爱企查
图片尺寸1601x1260
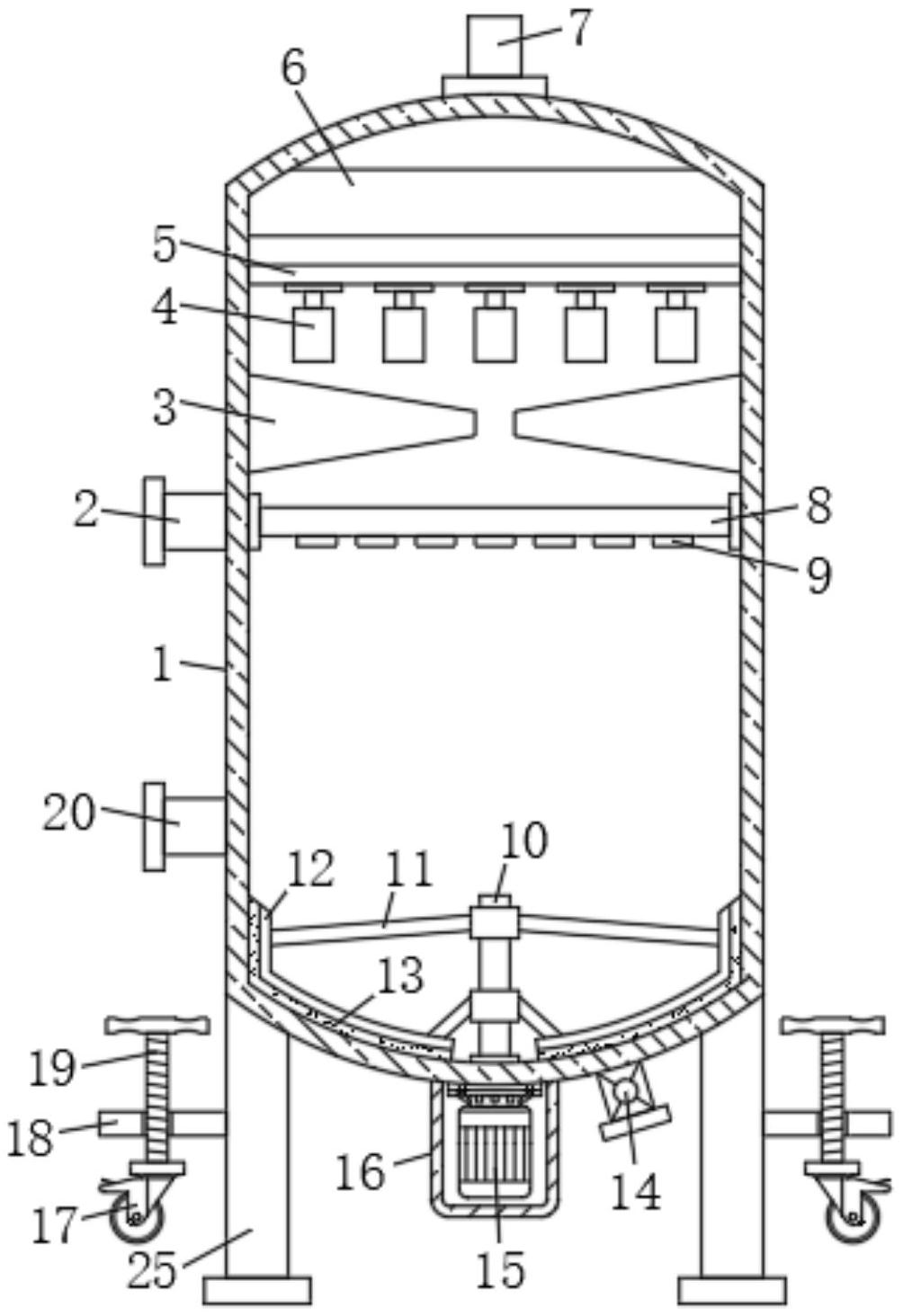
包括反应釜,所述反应釜上连接有尾气吸收装置,所述尾气吸收装置包括
图片尺寸1129x1343
初中化学实验中,有哪些尾气处理的方法.
图片尺寸322x279
一种环保废气吸收利用装置-爱企查
图片尺寸1004x1464
一种化工检测用尾气吸收装置-爱企查
图片尺寸1491x866
一种二氧化硫尾气吸收处理装置-爱企查
图片尺寸1496x999
实用新型公开了一种高硫尾矿综合利用的尾气处理装置,包括尾气吸收罐
图片尺寸478x399
化学常见处理尾气_尾气吸收装置防倒吸_化学实验中的氯化氢的尾气处理
图片尺寸449x173
以下各种尾气吸收装置中,适合于吸收hcl气体,而且能防止倒吸的有
图片尺寸253x243
化学实验中的氯化氢的尾气处理装置_化学常见处理尾气_尾气吸收装置防
图片尺寸418x266
一种精馏四氯化锗尾气吸收装置-爱企查
图片尺寸1051x1217
一种高效含氨尾气吸收装置的制作方法
图片尺寸390x495
一种四氯化锗生产用的尾气吸收装置的制作方法
图片尺寸443x361
cn201692762u_苯甲酸苄酯生产中尾气塔吸收处理装置失效
图片尺寸1903x1830