局部升降板详图

干货| 卫生间局部降板如何施工?现场示例!
图片尺寸476x379
钢筋桁架楼承板的升降板节点结构的制作方法
图片尺寸1000x811
图中升降板处白线是什么意思
图片尺寸688x728
钢筋桁架楼承板的升降板节点结构的施工方法
图片尺寸1797x1461
一种升降黑板的制作方法
图片尺寸798x1000
塔式升降机主弦杆自动生产系统
图片尺寸990x1232
筏板基础局部降板怎么设置钢筋及混凝土?
图片尺寸585x553
一种载车板agv立体车库的升降机
图片尺寸1855x1955
具体做法是卫生间的结构楼板下沉(局部)300mm作为管道敷设空间
图片尺寸500x283
干货| 卫生间局部降板如何施工?现场示例!
图片尺寸1080x989
一种冷藏车用导轨配套升降装卸机构
图片尺寸1482x1768
一种煤矿井下采煤工作面用履带式乳化液升降平台
图片尺寸2168x1608
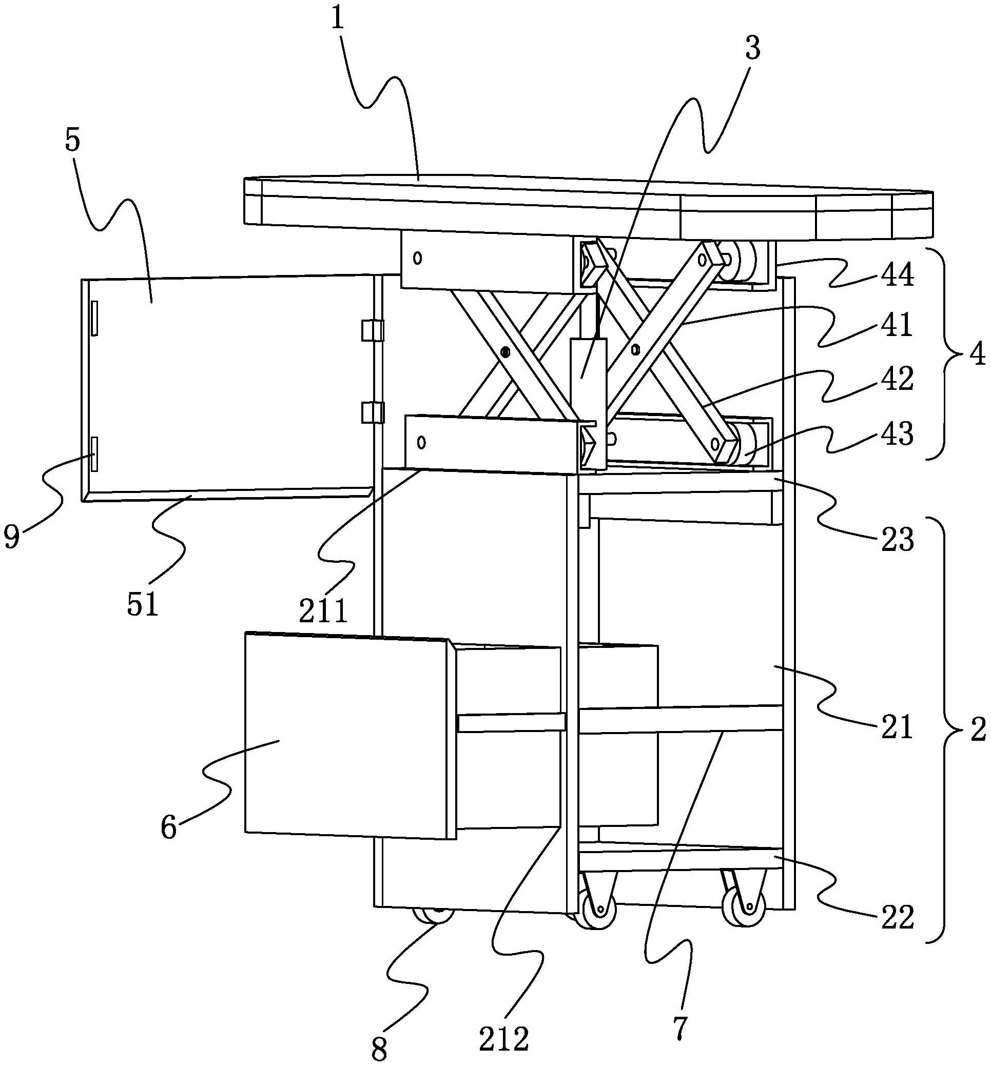
一种升降桌
图片尺寸1931x2078
一种液压升降机
图片尺寸1619x1389
jj7105剪叉式液压升降平台设计含sw三维图
图片尺寸2338x1653
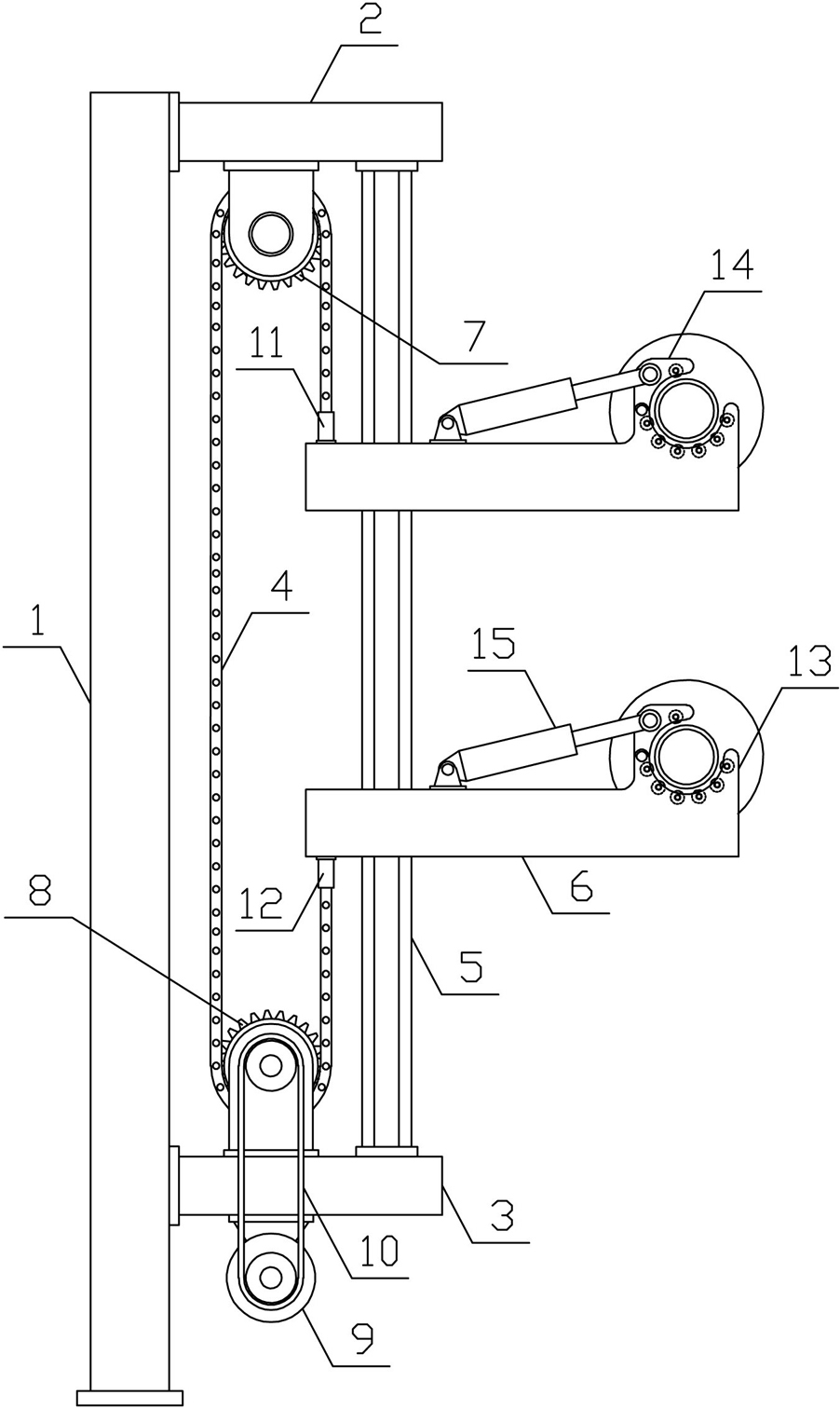
一种升降机构
图片尺寸1461x2167
一种集垂直运输设备及模架为一体的自顶升施工平台
图片尺寸1928x1757
全液压升降机设计含开题及8张cad图.全液压升降机设计含开题
图片尺寸900x900
一种膜卷放置升降机构
图片尺寸902x1512
一种升降机
图片尺寸1734x2298