屏蔽泵的结构

图文讲解屏蔽泵的结构及应用(动画演示)
图片尺寸1024x931
四,屏蔽泵的结构透视图
图片尺寸1080x810
屏蔽泵结构图及结构形式
图片尺寸640x430
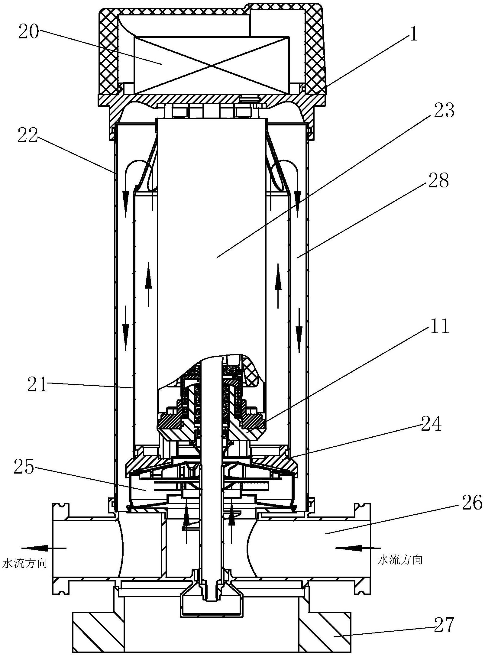
一种立式屏蔽泵-爱企查
图片尺寸1080x1669
初识屏蔽泵(下)
图片尺寸1728x2184
化工屏蔽泵,为什么要用它?
图片尺寸544x370
屏蔽泵内泵控制器需要外挂或增加零件方式固定于水泵上,结构复杂且
图片尺寸1605x2174
一场关于屏蔽泵的精彩阐述
图片尺寸725x485
ap1000屏蔽泵结构图
图片尺寸374x451
专业的屏蔽泵制造商——合肥新沪屏蔽泵有限公司参展cippe2020
图片尺寸600x420
屏蔽泵的结构,原理及应用ppt
图片尺寸1080x810
一种输送易凝固介质的高温型屏蔽泵-爱企查
图片尺寸1949x1119
屏蔽泵结构图
图片尺寸665x407
屏蔽泵剖视图及循环路线
图片尺寸2560x1920
屏蔽泵系列 pbg型新型立式屏蔽离心泵 > pbg立式屏蔽泵13,便拆式结构
图片尺寸2316x1920
屏蔽泵的相关知识屏蔽泵的工作原理,结构示意图及需要注意的要点.
图片尺寸509x524
屏蔽泵的结构特点应用领域及应紧急停车时的状况
图片尺寸508x375
磁力泵和屏蔽泵的工作原理和优缺点对比
图片尺寸509x349
杨学良:西菱智能永磁变频屏蔽泵在暖通领域的应用
图片尺寸960x540
通过深入剖析pbg屏蔽泵的结构图,我们可以清晰地看到,这款泵由多达二
图片尺寸544x709