展平辊原理示意图

胶条式展平辊(舒展辊),轴向舒展辊可自由调节,生产厂家!-阿里巴巴
图片尺寸1920x1197
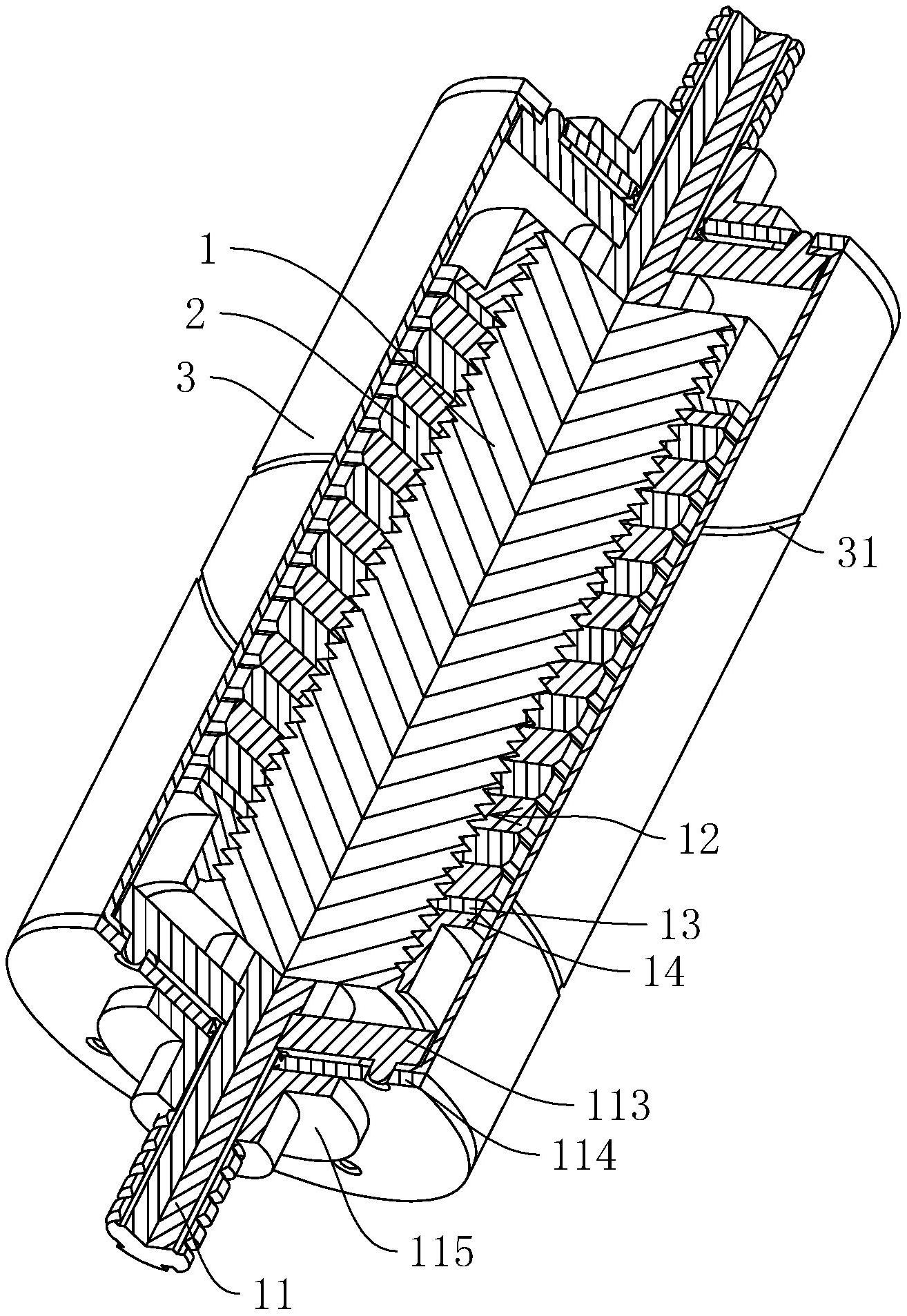
一种展平辊专利_专利申请于2020-10-22_专利查询 - 天眼查
图片尺寸1314x1907
一种展平辊制造技术,薄膜展平辊专利_技高网
图片尺寸872x1000
展平辊的种类
图片尺寸920x1302
展平装置-爱企查
图片尺寸1358x937
一种金属化薄膜用展平辊制造技术,薄膜展平辊专利_技高网
图片尺寸547x215
一种直辊展平辊-天眼查
图片尺寸1564x434
一种金属化薄膜用展平辊专利_专利申请于2016-09-29_专利查询 - 天眼
图片尺寸544x208
帘子布耐磨弧形辊_三元乙丙帘子布耐磨弧形辊(轮) - 阿里巴巴
图片尺寸600x228
一种pvdc薄膜中凹展平辊制造技术,薄膜展平辊专利_技高网
图片尺寸1000x340
批发供应高转速无纺布 设备轴向辊硅胶条舒展辊,展平辊
图片尺寸790x1048
徐州市新特展平辊厂
图片尺寸395x260
一种平幅展开辊的制作方法
图片尺寸1000x841
achenbach轧机展平辊的调节_word文档在线阅读与下载_免费文档
图片尺寸519x381
展平辊,极片展平设备及极片生产系统的制作方法
图片尺寸443x281
专利us20010003899 - charge pump and auxiliary pump for hydrostat
图片尺寸1992x2787
徐州市新特展平辊厂
图片尺寸358x154
扩幅弯辊用于印染机械,染色机 - 无锡市晟翔机械有限公司
图片尺寸518x595
Ҫ ͼ_ 图片_百度百科
图片尺寸538x330
1滚齿加工ppt_word文档在线阅读与下载_免费文档
图片尺寸1080x810