工伤路线图绘制

工伤维权路线图
图片尺寸1104x1276
属工伤可否重复赔付?
图片尺寸1080x482
常州市工伤认定情形
图片尺寸478x739
上班时感染,算工伤不?你关心的问题答案来了
图片尺寸900x1560
发生工伤后如何申请工伤认定
图片尺寸1000x573
职工伤亡事故认定现场示意图
图片尺寸1109x622
益阳市交警二大队乱作责任认定书
图片尺寸4032x3024
王谦:牛年新春,我和路虎接了一个吻
图片尺寸640x479
劳动法实务工伤认定大全一
图片尺寸1080x1439
交通事故本人全责,认定工伤!
图片尺寸962x481
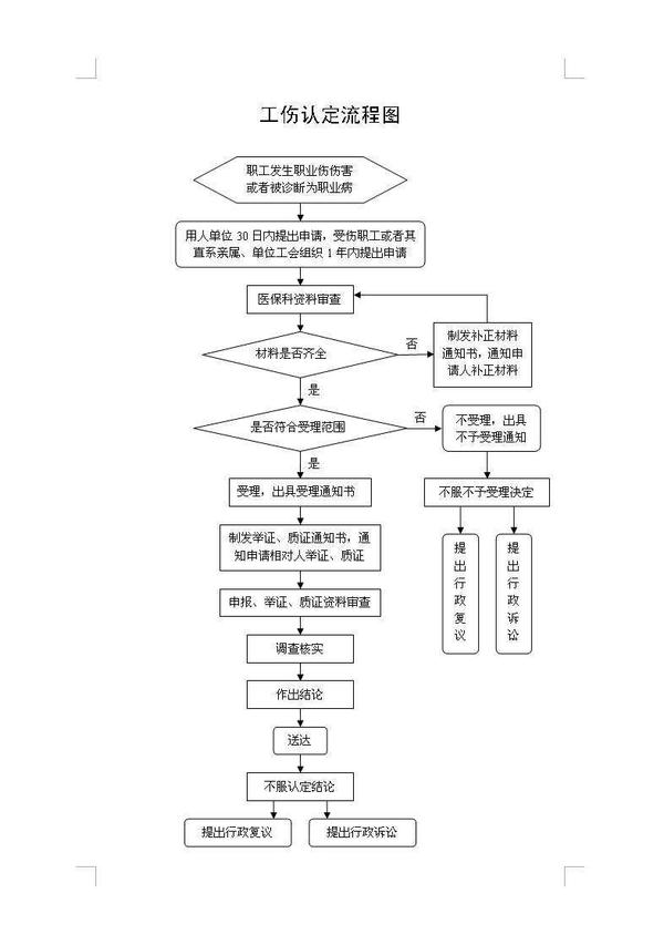
工伤认定流程图所需材料73
图片尺寸1080x1439
你还不知道,上下班路上这样情况受伤算工伤
图片尺寸1080x1439
台风天上下班途中受伤算工伤吗?盘点通勤工伤问题
图片尺寸640x848
事故工伤处理流程图
图片尺寸1002x1185
工伤保险三类材料缺一个00都拿不到钱.97一,工伤认定 工伤 - 抖音
图片尺寸1068x1256
上下班路上受伤算不算工伤
图片尺寸678x904
工伤认定没法认定怎么办
图片尺寸458x572
工伤事故的处理
图片尺寸594x612
陪客户喝酒加班过度猝死算工伤吗一起聊聊关于工伤的那些事
图片尺寸600x853
看懂2张图,自己学会评级.手足是工伤受伤部位当中最常见的部位 - 抖音
图片尺寸1242x1660