工具箱结构图

一种带锁扣工具箱的制作方法
图片尺寸1000x732
一种工程造价用工具箱的制作方法
图片尺寸988x1000
一种工具箱结构
图片尺寸1898x2152
一种工程造价户外工具箱
图片尺寸1688x1650
cn208262804u_工具箱结构有效
图片尺寸1837x1991
本实用新型涉及工具箱,尤其涉及一种结构简单,容量大,使用方便的工具
图片尺寸963x1000
工具箱推荐/工具箱套装推荐:家用工具箱什么牌子好?
图片尺寸640x619
【发明专利】一种医疗设备维修工具箱不可交易
图片尺寸867x1000
一种具有无线传输功能的病虫害调查工具箱
图片尺寸995x1239
cn208841360u_一种便携式高压管网维修用工具箱
图片尺寸1000x918
一种木器漆面修复工具箱
图片尺寸1000x970
cn209774601u_一种储存空间大便于移动的工具箱有效
图片尺寸919x1000
一种便携式工具箱的制作方法
图片尺寸1000x885
一种城市轨道交通用具有分类存放结构的维修工具箱的制作方法
图片尺寸1000x805
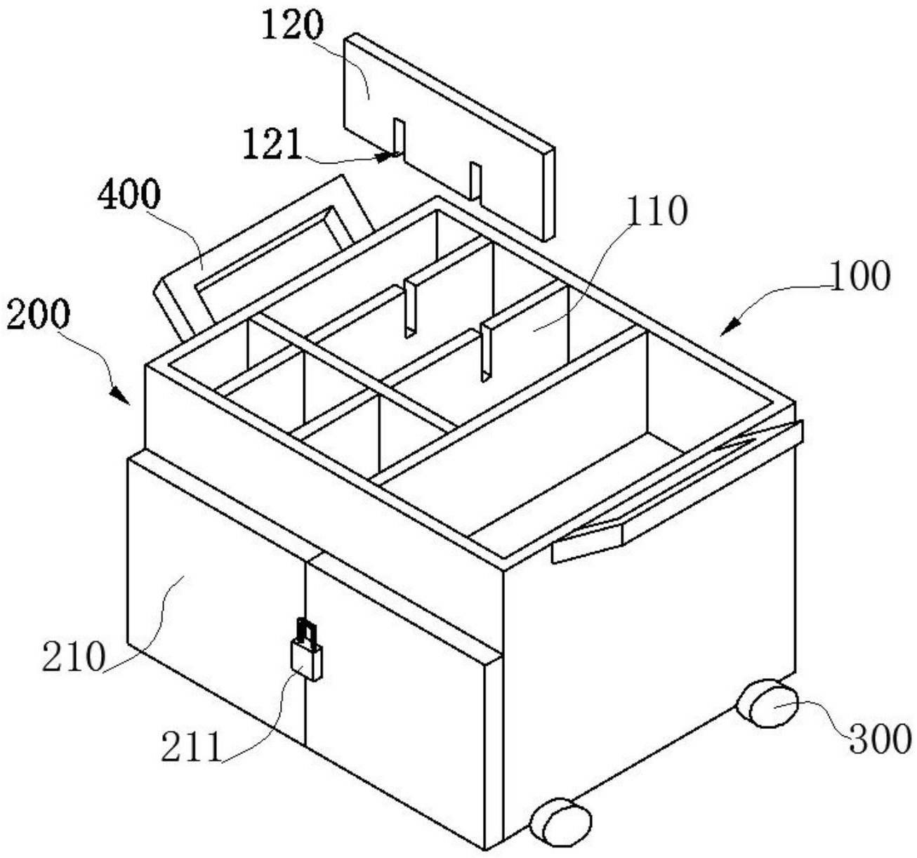
一种工具箱,包括箱本体,箱本体包括常用箱体及安全箱体两个箱层结构
图片尺寸1306x1222
cn201132312y_一种带侧门的多功能工具箱失效
图片尺寸565x600
工具箱结构
图片尺寸1764x1953
一种会计用工具箱的制作方法
图片尺寸1000x874
新型美术用工具箱的制作方法
图片尺寸1000x978
一种消防救援支点架设工具箱的制作方法
图片尺寸928x771