工具箱设计素描

2018儿童活动中心素描班作品展示1
图片尺寸917x622
素描工具箱
图片尺寸1080x755
美术工具箱
图片尺寸1080x1439
工具箱
图片尺寸1360x809
素描—工具箱_素描_美术生_艺考_美术_教育_美术生集训_文化_绘画
图片尺寸1080x608
素描藏宝箱
图片尺寸658x494
写生工具箱
图片尺寸2319x2000
新品72色彩铅收纳笔帘素描笔袋绘画炭笔美术设计生工具包文具盒
图片尺寸800x800
工具箱04写生
图片尺寸1080x810
素描静物——青儿美育大课堂周末班同学们
图片尺寸3027x2000
30天素描记
图片尺寸2580x1935
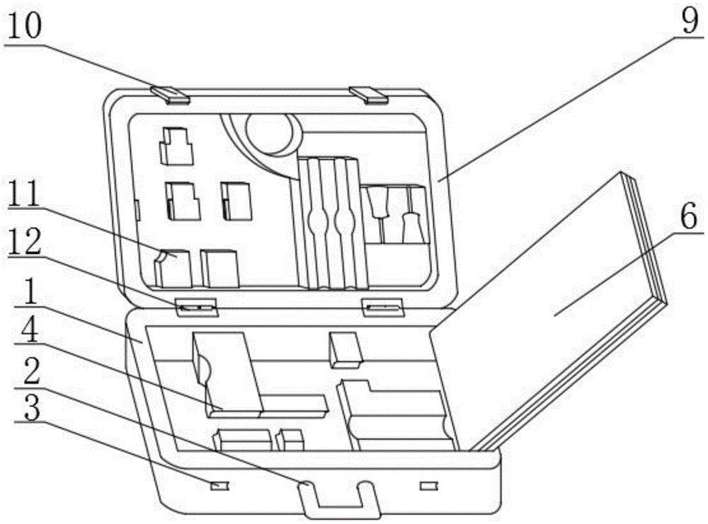
一种储存空间大便于移动的工具箱的制作方法
图片尺寸919x1000
工具包写生
图片尺寸1080x810
cn209774601u_一种储存空间大便于移动的工具箱有效
图片尺寸919x1000
背景技术:美术工具种类繁多,有画板,画架,画笔,素描纸,颜料,颜料盒,小
图片尺寸760x1000
画了哥箱子 细细画了下 好累 像大神学习的
图片尺寸1280x1280
素描静物工具箱美术用品组合
图片尺寸1080x1439
cn209887552u_一种建筑设计用便携式工具箱有效
图片尺寸1000x741
工具箱
图片尺寸1088x1621
百宝箱素描
图片尺寸1280x1608