工地围挡结构图

学习!6种常用施工围挡的做法详图-工程监理-监理动态
图片尺寸1080x750
钢围挡示意图
图片尺寸916x452
围挡施工图.doc
图片尺寸1404x993
青岛市市政工程围挡图集
图片尺寸1299x1001
施工围挡卷帘门电动门雨棚钢结构楼梯
图片尺寸1668x1130
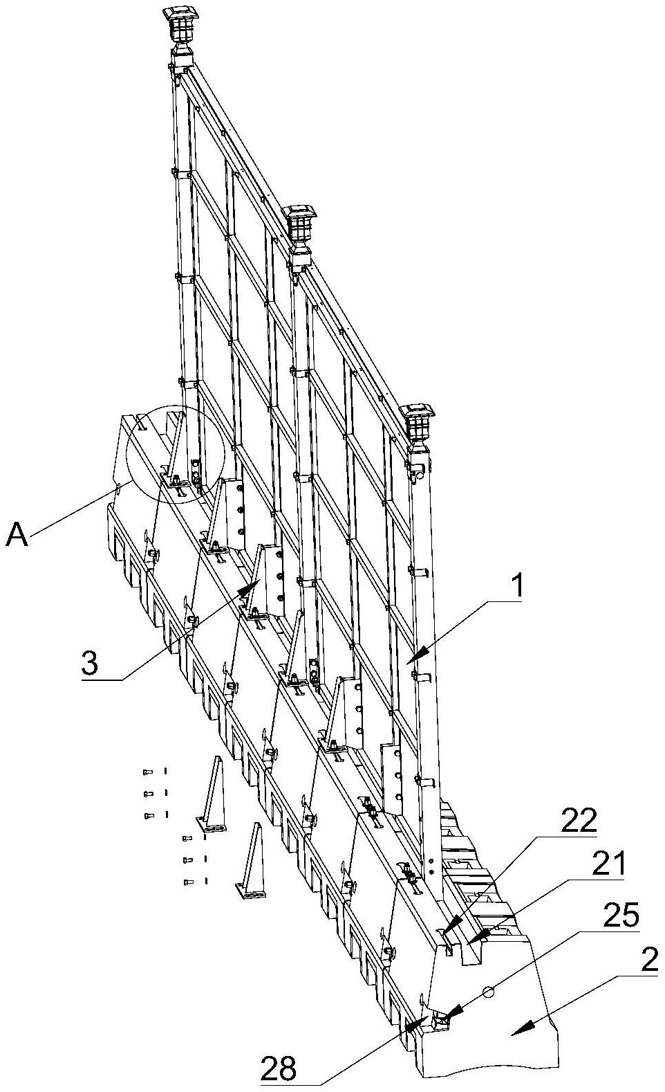
一种土建用便捷拆装的围挡的制作方法
图片尺寸838x1000
学习!6种常用施工围挡的做法详图-工程监理-监理动态
图片尺寸899x477
钢结构立面图5m高围挡支架钢结构施工图,平面,立面,剖面图,尺寸图
图片尺寸321x305
深圳pvc围挡_深圳市政施工工程工地用的围挡
图片尺寸800x607
h=2.5m,围挡总长度70.5m
图片尺寸608x570
请教大神这种临时围挡
图片尺寸1336x519
围挡施工图
图片尺寸1095x691
施工工地彩钢夹芯板围挡
图片尺寸923x939
荆州pvc围挡施工方案
图片尺寸875x579
辽宁武汉a2型围挡2018版
图片尺寸660x488
cn213509960u_一种施工围挡有效
图片尺寸962x1578
一种带有智能喷淋系统的装配式临建围挡
图片尺寸1922x965
学习!6种常用施工围挡的做法详图-工程监理-监理动态
图片尺寸928x499
施工围挡细节示意图
图片尺寸610x861
施工围挡细节示意图
图片尺寸610x432