工程测量简笔画

施工测量放样小技巧,测绘人员一定要掌握 - 知乎
图片尺寸964x826
工地测量员#速写打卡记录 #速写 #工人 #打工人
图片尺寸1080x1428
测量和建筑轮廓
图片尺寸1200x795
五一特辑 | 我把一线奋斗的样子,画给你看!_工作_焊接_测量
图片尺寸1080x764
一种工程测绘用全站仪-爱企查
图片尺寸512x800
测量工具图标设置轮廓样式
图片尺寸1100x1102
对测绘工程的个人看法与建议
图片尺寸660x367
手拿着尺矢量剪贴画
图片尺寸265x302
齿轮,头盔, 游标卡尺, 分频器, 锤子和扳手,测量卷尺, 计算器,铅笔与
图片尺寸700x700
工人 施工 测量
图片尺寸260x355
土木工程测量,分组元素插画下载
图片尺寸602x800
一种工程用个高精度测量经纬仪的制作方法
图片尺寸350x443
一种工程测绘用水平仪-爱企查
图片尺寸1342x2310
一种建设工程用多功能测量工具
图片尺寸998x1522
建筑/室内设计#我是一个囯企大院干了十年建筑师
图片尺寸468x447
测量仪器图标
图片尺寸512x512
测量设备
图片尺寸1832x1743
游标卡尺的简笔画
图片尺寸532x233
工程测量(第2版)最新章节_孔达著_掌阅小说网
图片尺寸1536x1216
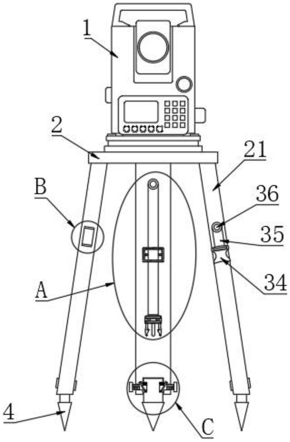
摘要附图摘要本实用新型公开了一种全站仪,涉及精密工程测量仪器技术
图片尺寸1250x1774