巴氏杀菌机简图

一种巴氏杀菌机
图片尺寸1126x1021
500l乳品全自动巴氏杀菌机器杀菌罐设备
图片尺寸640x640
一种袋装巴氏杀菌机的制作方法
图片尺寸443x192
一种巴氏杀菌机制造技术
图片尺寸1000x906
一种基于果蔬加工的巴氏杀菌机的制作方法
图片尺寸1000x565
50005000低温巴氏杀菌设备 多功能巴氏杀菌机 水果罐头杀菌机
图片尺寸832x552
一种牛奶板式巴氏杀菌机物料暂存罐的制作方法
图片尺寸1000x793
多功能母乳巴氏杀菌机的制作方法
图片尺寸1000x942
一种防凝结的酸奶生产用巴氏杀菌机的制作方法
图片尺寸1000x764
一种自带水位观察管具有内循环功能的巴氏杀菌机的制作方法
图片尺寸1000x724
一种巴氏杀菌机的制作方法
图片尺寸676x651
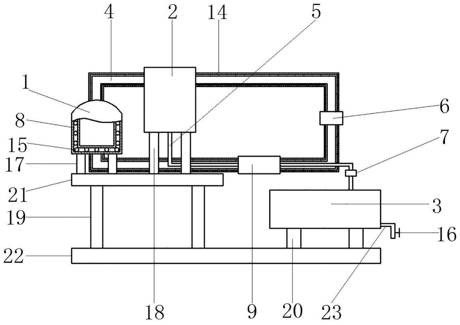
cn211091644u_一种牛奶巴氏杀菌机有效
图片尺寸1567x1108
一种水浴式巴氏杀菌机的制作方法
图片尺寸867x1000
一种三段式巴氏喷淋灭菌机的制作方法
图片尺寸1000x466
一种精确控温型隧道式巴氏杀菌机的制作方法
图片尺寸1000x750
牛奶巴氏杀菌机使用说明书 (压缩机/冰制冷型)-说明书-诸城市益众肉食
图片尺寸679x608
一种牛奶巴氏杀菌机的制作方法
图片尺寸1000x707
一种袋装巴氏杀菌机-爱企查
图片尺寸443x192
目的是提供一种用于烤肉酱的uht超高温杀菌装置,其特征在于:由外机壳
图片尺寸1981x1417
一种新型改进结构的巴氏杀菌机的制作方法
图片尺寸1000x650