布料器类型

布料器
图片尺寸600x413
高炉布料器
图片尺寸680x525
布料器
图片尺寸4288x2848
烧结用六辊(七辊,九辊)布料器
图片尺寸600x445
烧结机布料器
图片尺寸4096x2728
九辊布料器
图片尺寸550x413
wzsblq型布料器
图片尺寸800x600
九辊布料器_九辊布料器_产品中心_宝鸡市晋旺达机械设备有限公司
图片尺寸400x300
筛轴式筛分布料器-成都分类信息-创优网
图片尺寸1280x720
布料器
图片尺寸600x450
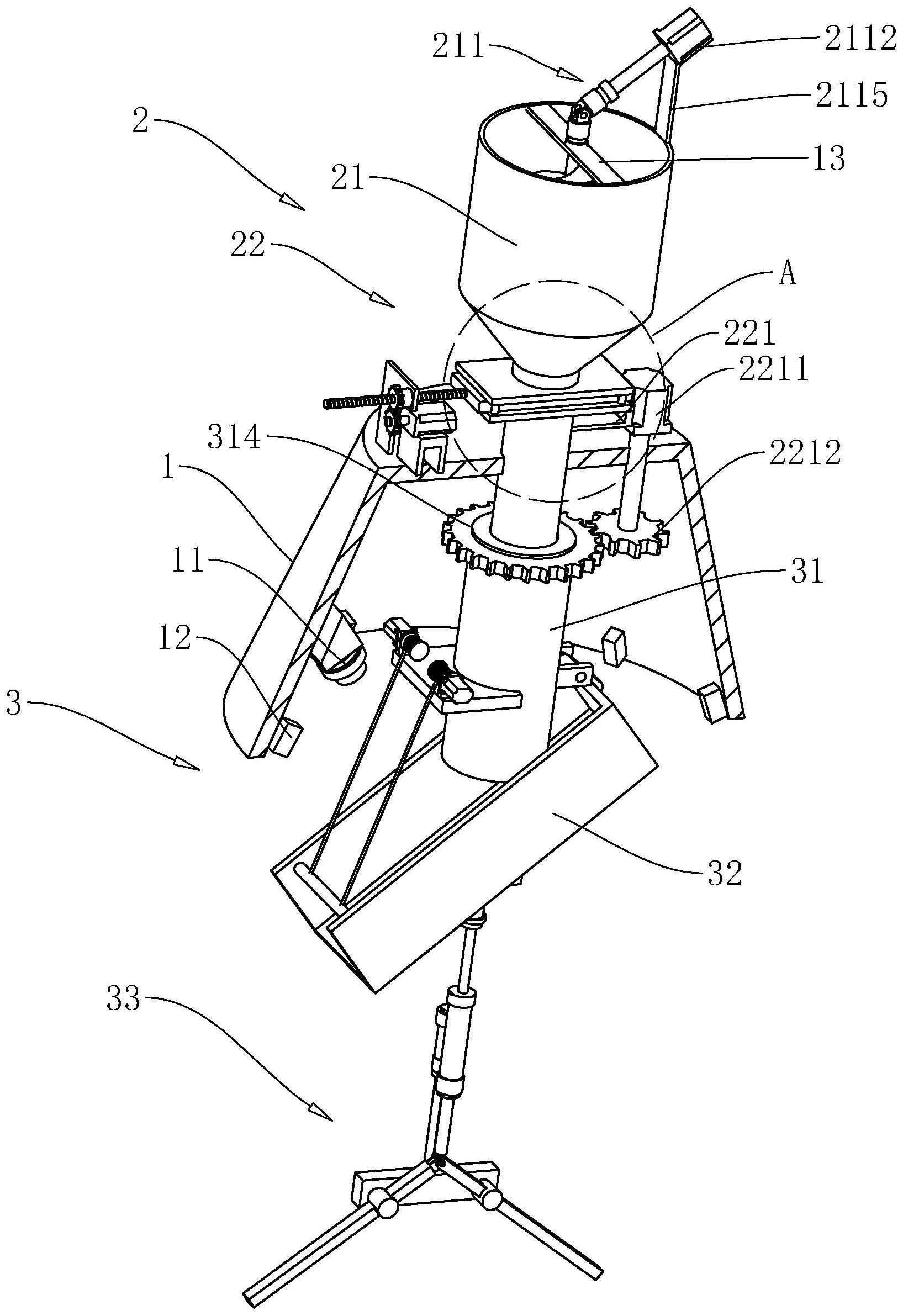
cn112897906a_一种布料均匀的石灰窑炉布料机
图片尺寸1635x2383
双膛石灰窑旋转布料器
图片尺寸1200x900
布料器
图片尺寸600x450
竖窑布料器
图片尺寸668x900
石灰窑布料器厂家,材质为q345b-阿里巴巴
图片尺寸1216x912
自动升降调节机械化石灰窑布料器
图片尺寸1024x693
梭式布料器
图片尺寸1000x1333
布料器
图片尺寸815x801
伞齿布料器
图片尺寸800x800
多辊布料器
图片尺寸518x306