带锯床结构图

毕业设计指导:金属带锯床设计
图片尺寸1920x1440
一种高可靠多角度切削带锯床的制作方法
图片尺寸921x1000
卧式带锯床用于锯割合金结构钢,中碳钢,低合金钢,耐热摸钢skt,高合
图片尺寸1955x1845
一种交替切割石墨的立式带锯床
图片尺寸2251x2163
一种卧式带锯床钢材切割冷却结构的制作方法
图片尺寸1703x1733
nc4242数控锯床卧式金属带锯床
图片尺寸683x599
数控锯床全自动送料架配件金属切割开料锯电动专用剧床大型带锯床
图片尺寸750x972
博尔特多功能带锯机小型卧式金属不锈钢铝材切割机高精度45度锯床
图片尺寸750x1006
双立柱金属带锯床送料装置
图片尺寸1842x1910
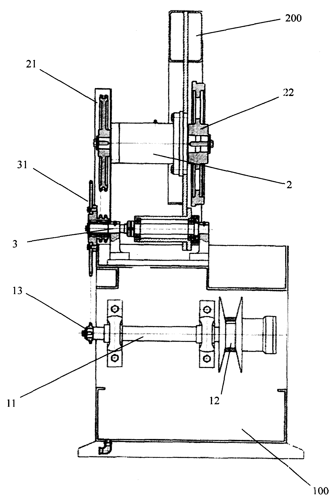
一种带锯床
图片尺寸1877x1712
一种金属带锯床及其使用方法
图片尺寸2254x1368
背景技术:带锯床是用于锯切各种金属材料的机床,按结构分为卧式与立式
图片尺寸1000x886
714 立式金属带锯床的设计与控制
图片尺寸727x484
「pdf」gb t 42628
图片尺寸792x1091
6米自动跑车木工台式带锯机 邦耀杨树圆木打板机 30型圆盘改木机
图片尺寸750x938
gw4028a卧式小型带锯床国产高精密带锯床多功能木工锯床
图片尺寸790x574
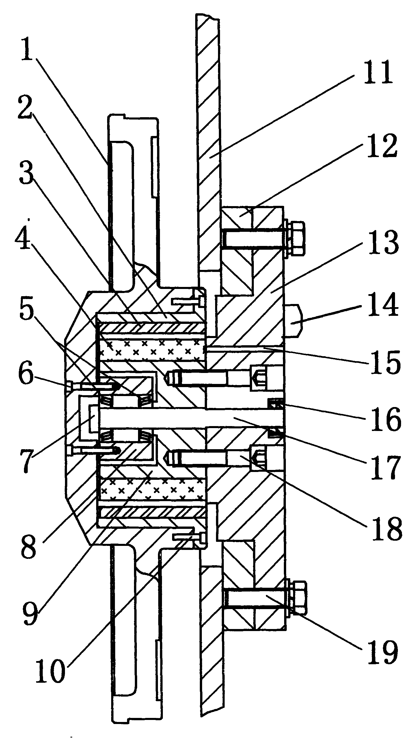
带锯床的分离式共轭主传动机构
图片尺寸1328x1979
一种金属带锯床主传动装置
图片尺寸1413x2560
根据结构分为卧式金属带锯床,立式金属带锯床,卧式又分为剪刀式,双
图片尺寸443x344
供应全新带锯床ec4232两头锯床
图片尺寸628x647