幕墙开启扇图纸

一种用于幕墙工程的开启扇的制作方法
图片尺寸915x1000
请问一下大家,这幕墙开启扇如图第二行文字{不锈钢滑撑}红色的图,是
图片尺寸720x1280
幕墙开启扇的制作方法
图片尺寸877x1000
某明框玻璃幕墙节点构造详图(一)(开启扇水平图)
图片尺寸760x519
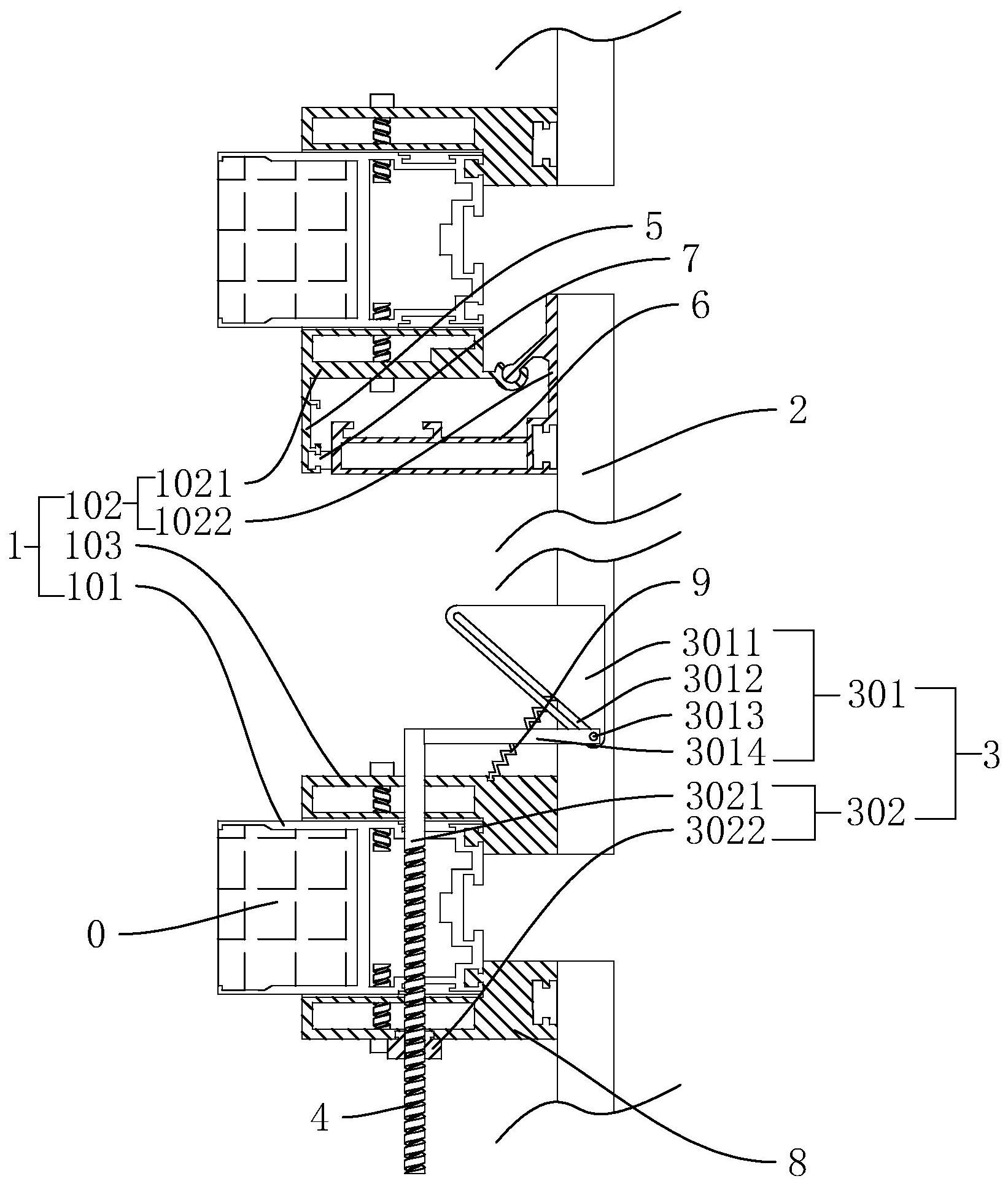
cn201785915u_幕墙开启扇有效
图片尺寸1699x1845
老师敲黑板幕墙安全要从开启扇设计说起
图片尺寸540x417
cn206487316u_一种内倾式幕墙专用开启窗结构有效
图片尺寸954x1000
一种幕墙开启扇用挂钩及应用该挂钩的钩挂式幕墙分体开启扇-爱企查
图片尺寸934x928
一种玻璃幕墙外上悬式开启扇施工节点的制作方法
图片尺寸426x444
闽发幕墙开启扇断面 curtain wall open fan-light
图片尺寸550x768
竖明横隐幕墙开启扇横剖节点图
图片尺寸643x339
cn202913885u_一种隐框幕墙开启扇失效
图片尺寸1000x885
幕墙开启扇纵剖节点图cad图纸
图片尺寸850x1054
cn110644879b_一种幕墙开启扇挂装系统有效
图片尺寸1642x1928
钩挂式幕墙开启扇设计
图片尺寸480x406
铝幕墙与玻璃幕墙开启扇竖向连接
图片尺寸1311x927
请问在幕墙设计过程中开启扇的受力问题
图片尺寸331x365
某明框玻璃幕墙节点构造详图(一)(开启扇垂直图)
图片尺寸441x685
一种便于注胶的单元幕墙开启扇构造的制作方法
图片尺寸1000x839
幕墙玻璃及开启扇加工构造详图 - cad宾馆酒店及其他公建装修图纸下载
图片尺寸645x430