干燥装置图

常见的干燥装置
图片尺寸1080x810
一种蛋白粉干燥装置
图片尺寸1742x1372
自热式生物质干燥装置
图片尺寸2059x2244
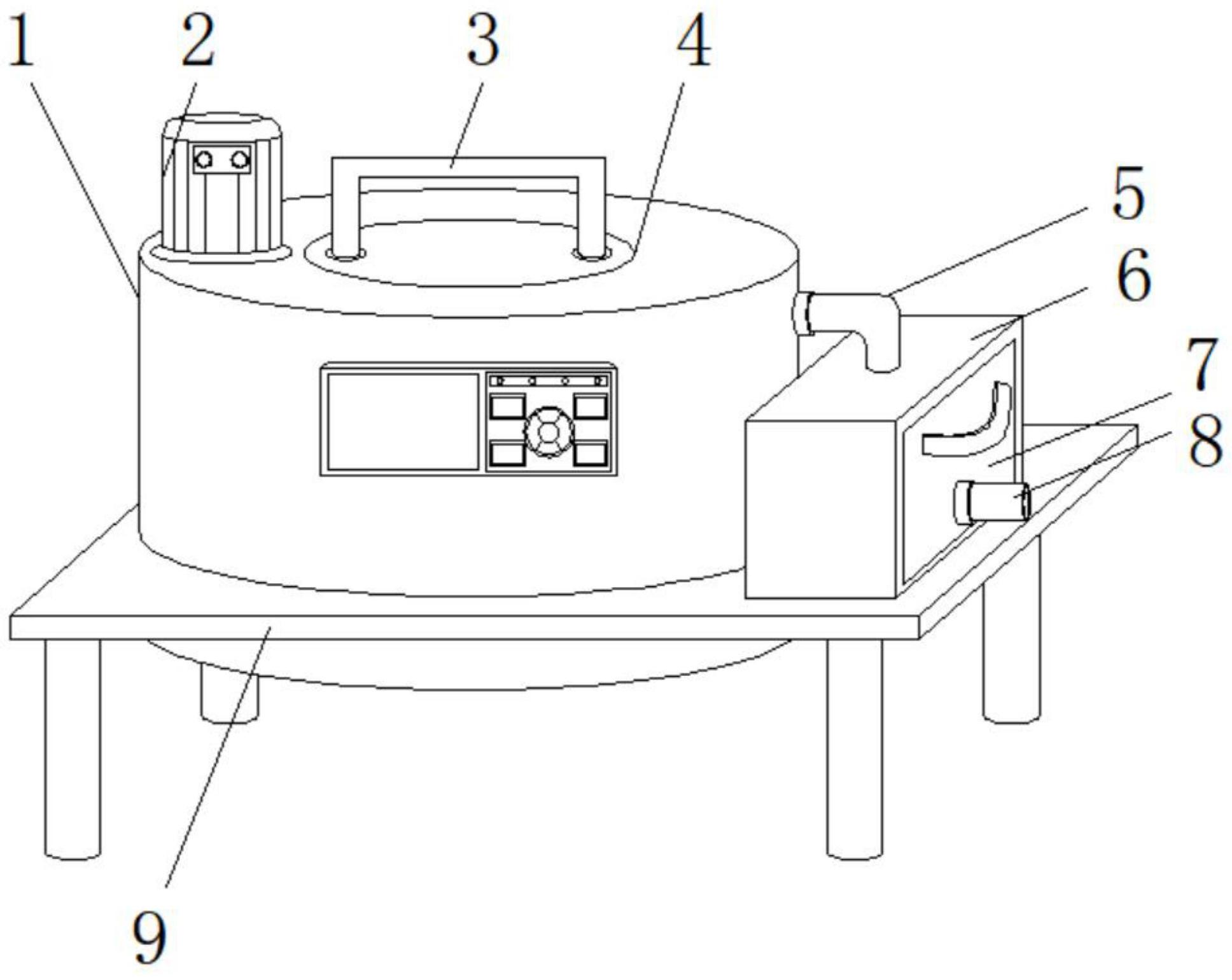
一种化学实验室用化学试剂干燥装置的制作方法
图片尺寸1000x536
一种多用途干燥装置的制作方法
图片尺寸1000x778
厢式干燥器
图片尺寸418x530
材料| 三元材料干燥工艺和干燥设备的选择
图片尺寸1080x690
洞道干燥实验设备洞道干燥实训装置
图片尺寸3216x2512
中药液干燥装置
图片尺寸1157x1313
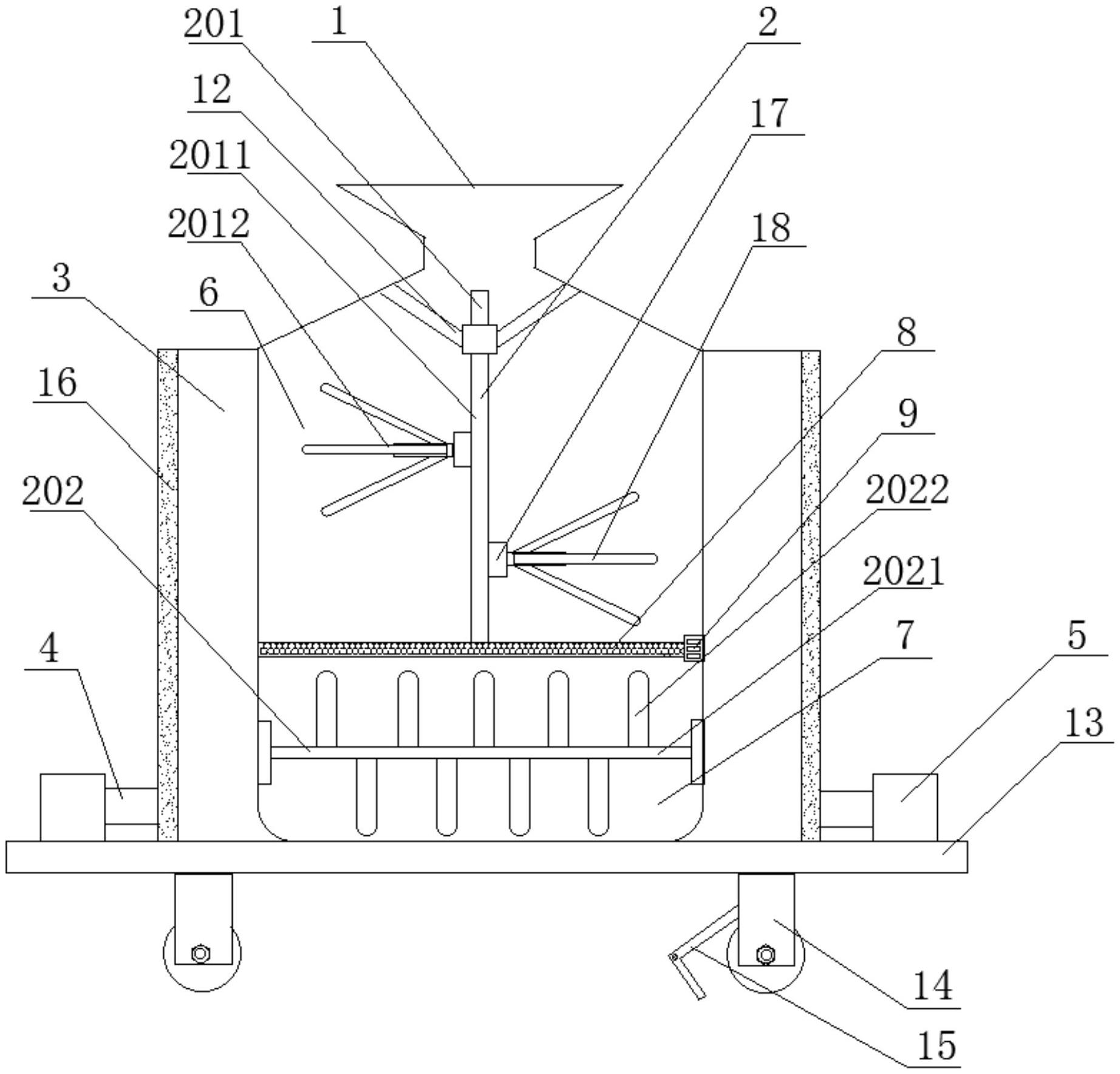
闪蒸干燥机的加料器与搅拌齿设计方式与结构
图片尺寸405x559
求抽空油泵前冷肼装置干燥塔图
图片尺寸372x210
药材生产用干燥装置
图片尺寸1844x1768
zrlhc-a流化床干燥实验装置(计算机数据采集控制型)
图片尺寸662x990
真空干燥器附瓷板240mm
图片尺寸886x886
cn109853202a_一种智能家居衣物快速环保干燥装置
图片尺寸1543x1774
一种医药设备干燥装置
图片尺寸1936x1541
cn212512245u_一种玉米淀粉浆的干燥装置
图片尺寸1885x1453
数字型流化床干燥实验装置,数字型流化床干燥实验设备
图片尺寸419x567
一种有机化学用干燥装置的制作方法
图片尺寸310x371
硫酸锌干燥装置
图片尺寸1855x1509