干衣机结构

干衣机剖视图
图片尺寸365x360
干衣机
图片尺寸347x300
干衣机的制造方法与工艺
图片尺寸862x1000
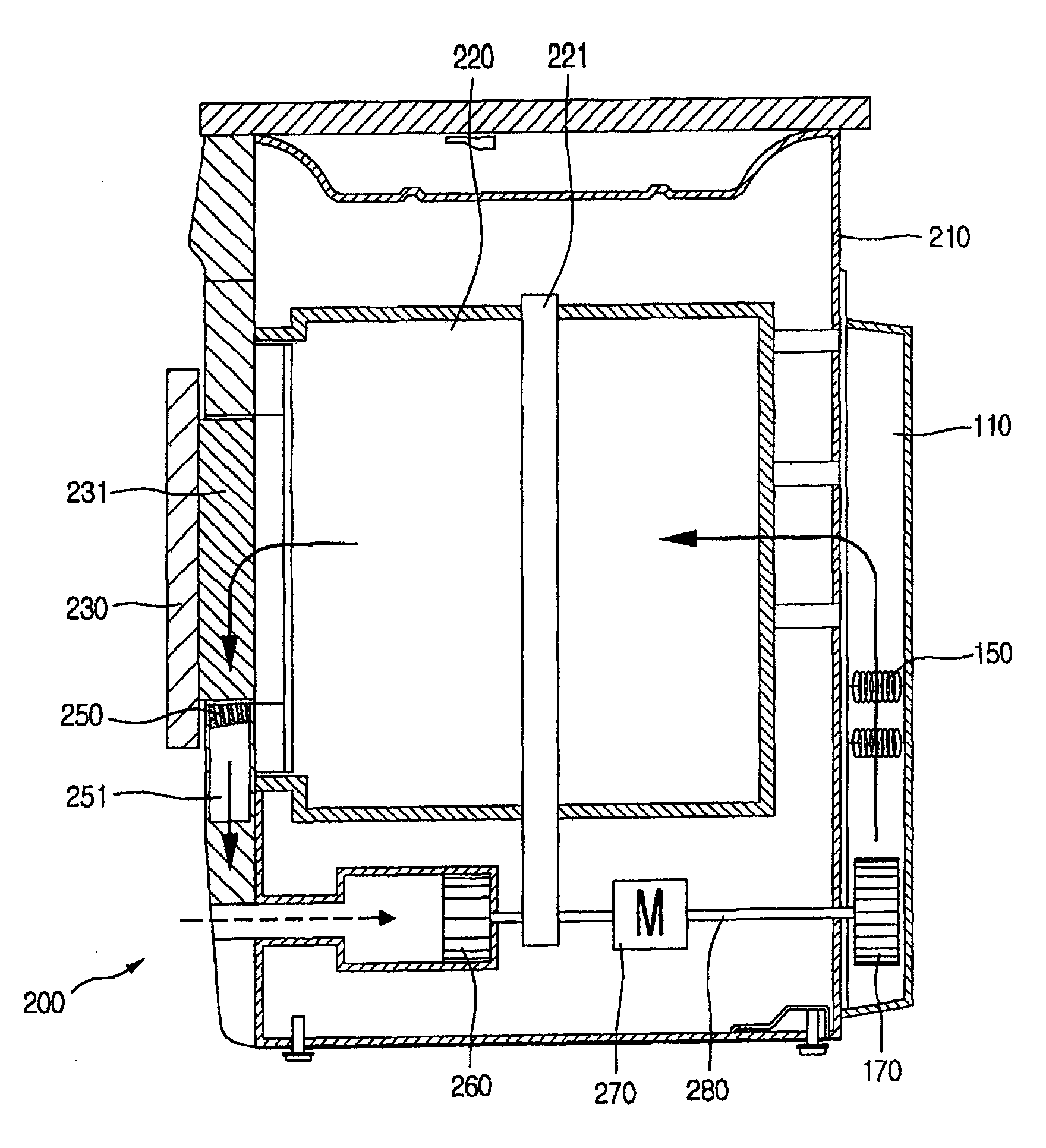
更具体地说,涉及一种其排放单元具有改进的结构的衣物烘干机
图片尺寸919x1000
你还没有拥有一台干衣机吗
图片尺寸1080x1439
一定要入手的居家帮手惠而浦freshcare干衣机
图片尺寸948x449
干衣机制造技术
图片尺寸1000x772![美诺miele干衣机t7744使用说明书:[4]](https://i.ecywang.com/upload/1/img1.baidu.com/it/u=1533461694,2064017315&fm=253&fmt=auto&app=138&f=JPEG?w=500&h=707)
美诺miele干衣机t7744使用说明书:[4]
图片尺寸1684x2381
一种冷凝式干衣机底座及干衣机的制作方法与工艺
图片尺寸949x1000
燃气干衣机原理
图片尺寸1236x941
一种干衣机的制作方法
图片尺寸788x1000
干衣机的制作方法
图片尺寸930x1000
冬天衣服干不了到底什么样的干衣机才适合我们
图片尺寸550x309
一种干衣机
图片尺寸1134x1142
干衣机的气流结构
图片尺寸1760x1932
cn201614506u_干衣机的传动结构有效
图片尺寸800x938
一种干衣机的制作方法
图片尺寸878x1000
摘要附图摘要本申请公开了一种干衣机,包括壳体,滚筒,风道结构,门体
图片尺寸455x800
一种干衣机及其干衣方法与流程
图片尺寸944x1000
滚筒式洗衣干衣机
图片尺寸1896x1693