平板加强筋设计

铸铁平板厂家
图片尺寸807x532
板平面配筋图
图片尺寸480x448
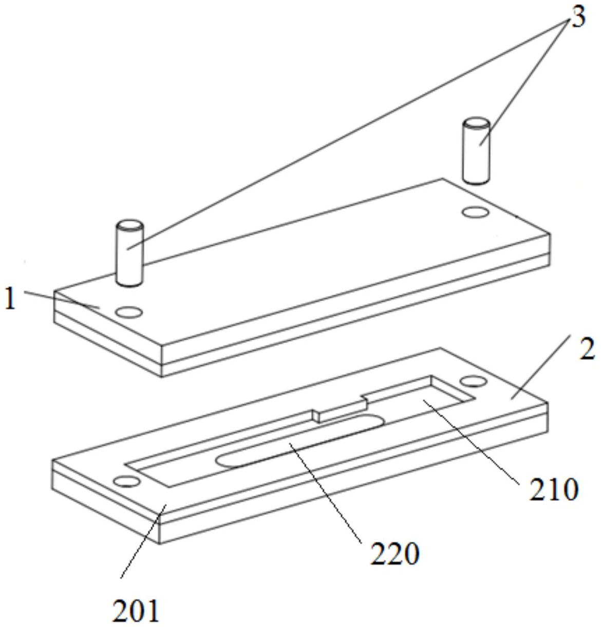
一种用于压制平板件加强筋的简易模具
图片尺寸1170x1222
板钢筋配筋原理
图片尺寸946x427
结构设计加强筋设计及经验
图片尺寸553x416
大家好,根据图一,图二的休息平台板的配筋信息输入对吗?
图片尺寸807x545
加强筋是焊接好还是螺栓连接好
图片尺寸651x582
钢筋混凝土平板配筋示意图
图片尺寸405x325
加强筋的设计要点
图片尺寸414x199
加强筋板注塑模具设计模型
图片尺寸439x220
平板车小推车晶花平板车便携推货车折叠手推车拉货拖车家用板车小推车
图片尺寸790x1208
隔墙板底加强筋
图片尺寸621x366
(6)叠合板钢筋绑扎时,支座负筋与行架筋要满绑,加强筋设置锚固间距
图片尺寸362x378
加强筋焊接在加强件中间好还是靠边,为什么?
图片尺寸500x406
基于pro/e mechanice在平板刚度设计中的应用分析
图片尺寸966x714
楼梯平台板配筋
图片尺寸1152x745
加强筋采用底板受力筋面积的一半
图片尺寸764x558
铸铁平板底面加强筋
图片尺寸700x700
板的加强筋怎么画
图片尺寸653x742
剪力墙中其他钢筋里垂直和水平加强筋设置问题
图片尺寸1580x890