平版印刷原理图

平版印刷
图片尺寸500x397
平版印刷工艺中的胶印和平凸印
图片尺寸500x285
平版印刷是利用油与水不相混合的原理,在印版上建立亲水疏油的空白
图片尺寸1080x888
平版胶印原理
图片尺寸1220x967
cn1684002a_平版印刷装置和器件制造方法有效
图片尺寸1417x1279
平版印刷机
图片尺寸500x309
①平版印刷印版的图文部分和空白部分几乎处于同一平面,利用油水不相
图片尺寸470x495
平版印刷故障排除(一)
图片尺寸438x292
砹石科技带您了解平板印刷原理.
图片尺寸644x440
①平版印刷印版的图文部分和空白部分几乎处于同一平面,利用油水不相
图片尺寸1112x560
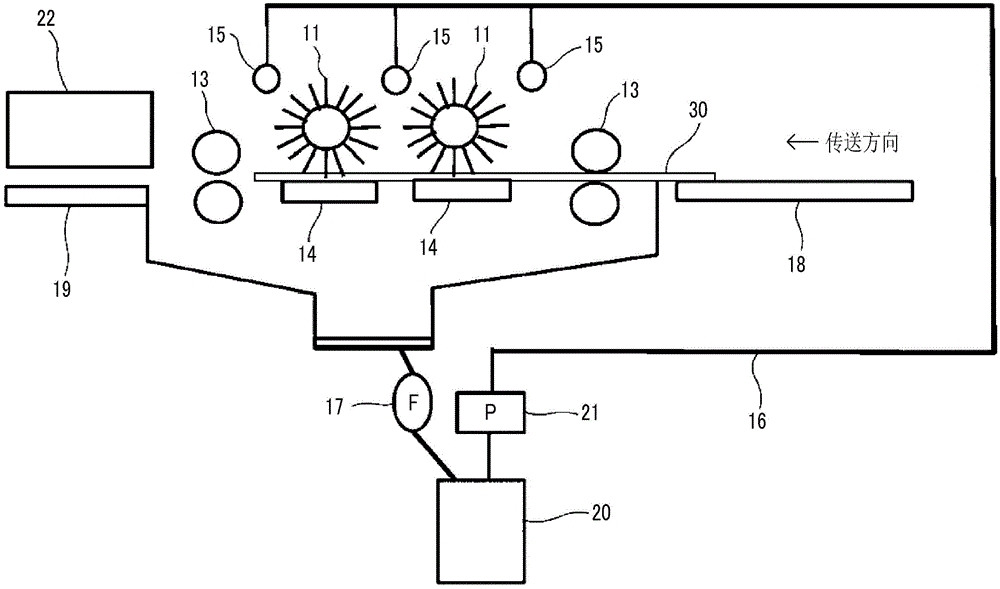
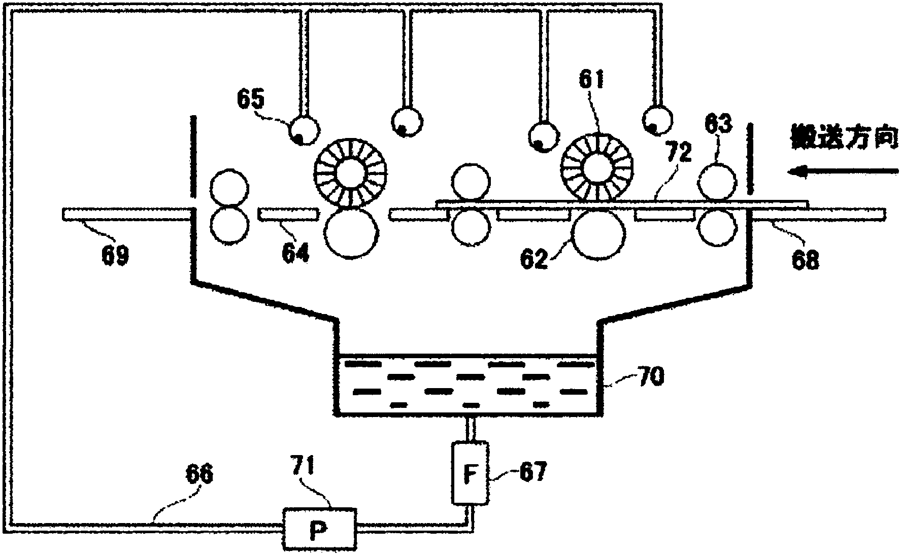
cn103827749b_平版印刷版的制版方法有效
图片尺寸1775x1094
凹版印刷机厂家为您介绍印刷机系统结构和同步控制原理
图片尺寸1109x611
平版印刷的特点,搞不清凸版印刷,凹版印刷 - 玉三网
图片尺寸1080x740
平版印刷版原版
图片尺寸1773x1262
平版印刷 2,平版胶印版面特点及印刷原理图
图片尺寸1080x810
cn101076758a_感红外线性平版印刷印版用消光剂及其用途失效
图片尺寸1262x1302
平版印刷ppt
图片尺寸1080x810
平版印刷原理图关闭窗口
图片尺寸500x344
平版印刷版的制作方法
图片尺寸1000x589
平版印刷的特点,搞不清凸版印刷,凹版印刷 - 玉三网
图片尺寸1080x678