平行流换热器

结构紧凑,更高耐腐蚀,更具规模化效率化生产的平行流换热器所取代
图片尺寸700x490
横插片式全铝微通道平行流换热器
图片尺寸366x275
结构紧凑,更高耐腐蚀,更具规模化效率化生产的平行流换热器所取代
图片尺寸700x490
微通道平行流换热器
图片尺寸1967x1982
微通道换热器,板式换热器,平行流蒸发器,层叠式蒸发器#源头实 - 抖音
图片尺寸363x951
微型平行流冷凝器微通道换热器小型平行流冷凝器蒸发器
图片尺寸1267x1689
05,微通道换热器(平行流)套管式换热器在制冷设备中也是很常见的,是一
图片尺寸491x581
换热器热交换器板换器配件不锈钢交换器通用 1号 平口148平行流10片
图片尺寸800x800
如何做微通道平行流换热器的设计和仿真
图片尺寸640x330
sp 家用空调 微通道平行流换热器
图片尺寸669x411
平行流冷凝器
图片尺寸458x324
融洋生产翅片管换热器腐蚀的防范
图片尺寸750x750
结构紧凑,更高耐腐蚀,更具规模化效率化生产的平行流换热器所取代
图片尺寸700x490
换热器
图片尺寸822x707
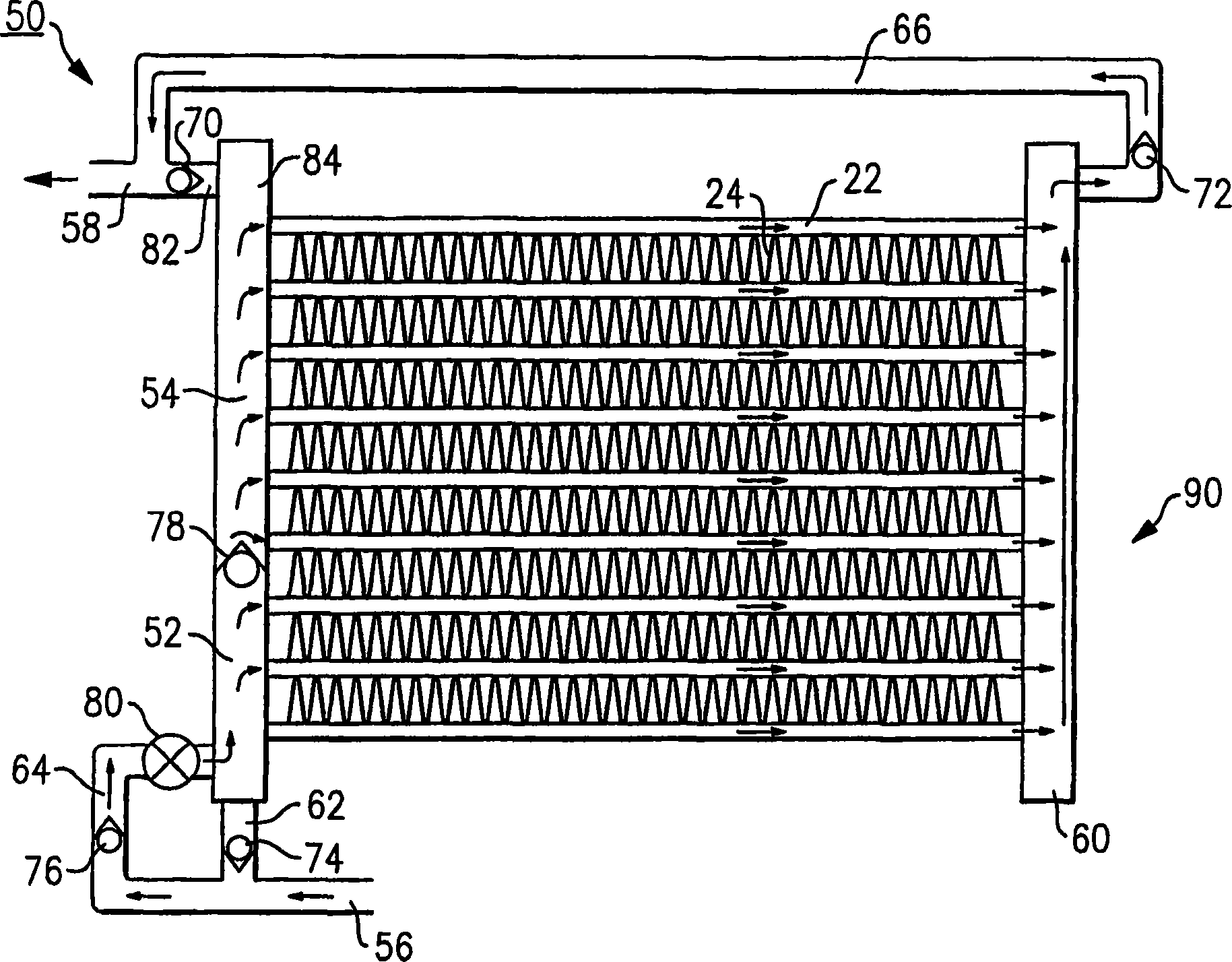
用于热泵应用的平行流热交换器
图片尺寸1829x1428
平行流微通道微通道冷凝器平行流风冷散热器大散热量冷却器带
图片尺寸1920x1440
如何定制一款蒸汽换热器
图片尺寸1440x1080
wt1240p4微通道冷凝器平行流风冷散热器大散热量冷却器带4只风扇
图片尺寸750x750
邢台可拆板式换热器制造
图片尺寸1920x1440
平行流换热器
图片尺寸1313x1182