平衡锤原理图

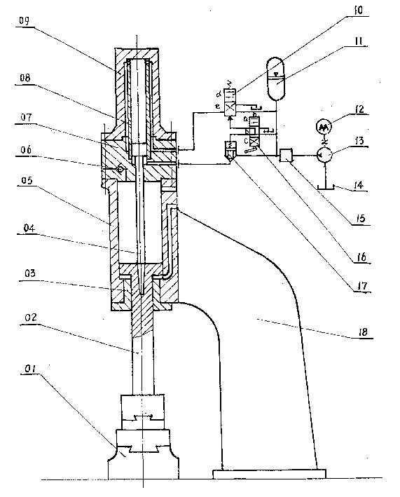
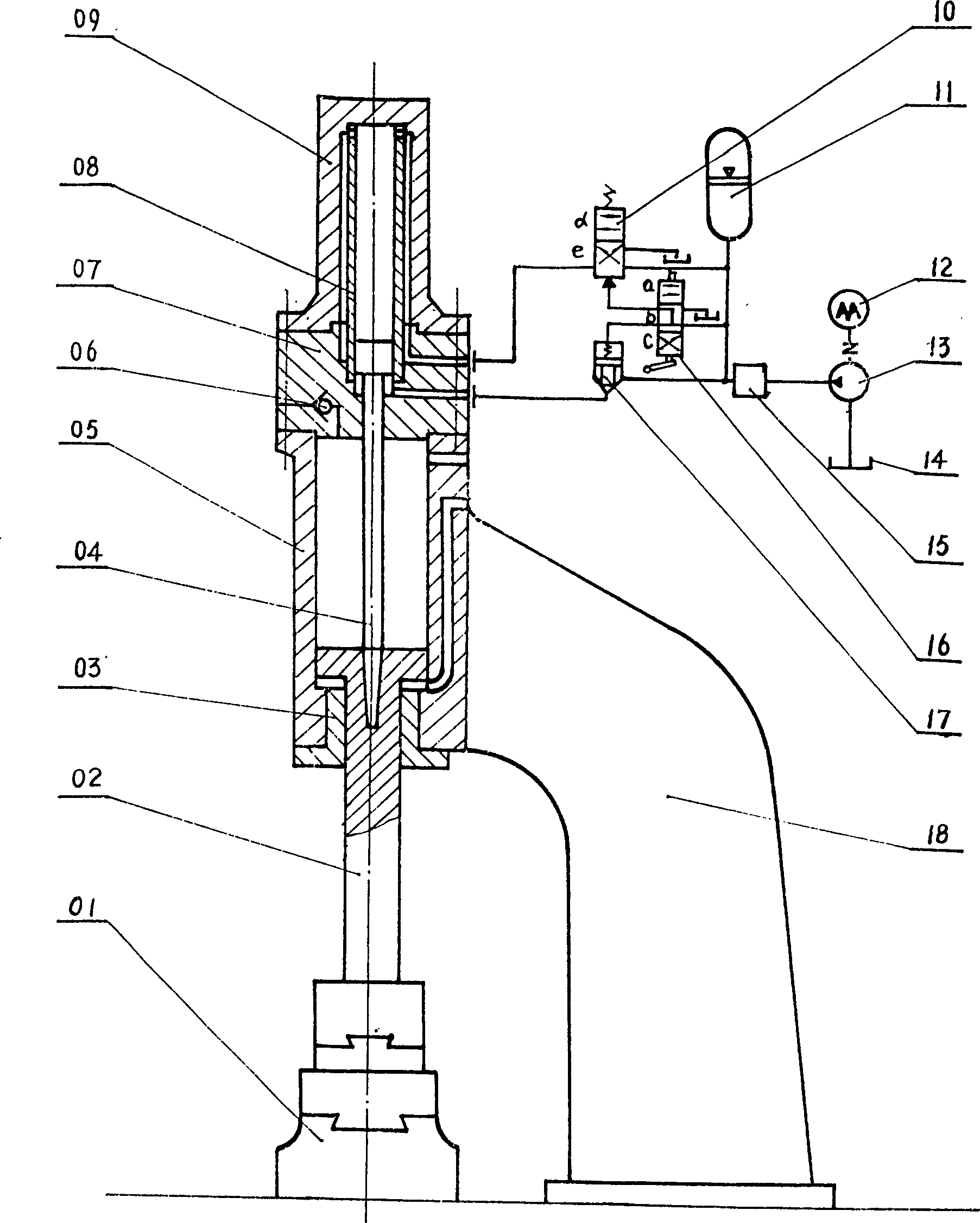
全液压自由锻锤动力系统
图片尺寸1805x2253
全液压自由锻锤动力系统
图片尺寸571x709
在本文附图展述的机械原理结构简图上,0标示微调平衡锤的固定装置;1
图片尺寸810x456
图片尺寸942x968
一种煤矿井下联动风门用便于控制的重力平衡锤
图片尺寸1000x814
物理课堂的魅力画笔:简笔画的教学应用
图片尺寸640x426
液压破碎锤定期保养主要性. 破碎锤活塞环內的阶梯封有二条
图片尺寸414x766
生活中的物理与化学原理:力学,运动学,光学及热力学的全面解析
图片尺寸640x480
图片尺寸1182x1418
设备运行原理动图如何制作
图片尺寸411x331
一种采用旋转平衡法吊装特大型设备的工艺方法
图片尺寸2013x2892
破碎锤的操作指南与维护秘诀
图片尺寸540x902
如图所示是某水果店使用的电子秤工作原理简化图
图片尺寸2383x1089
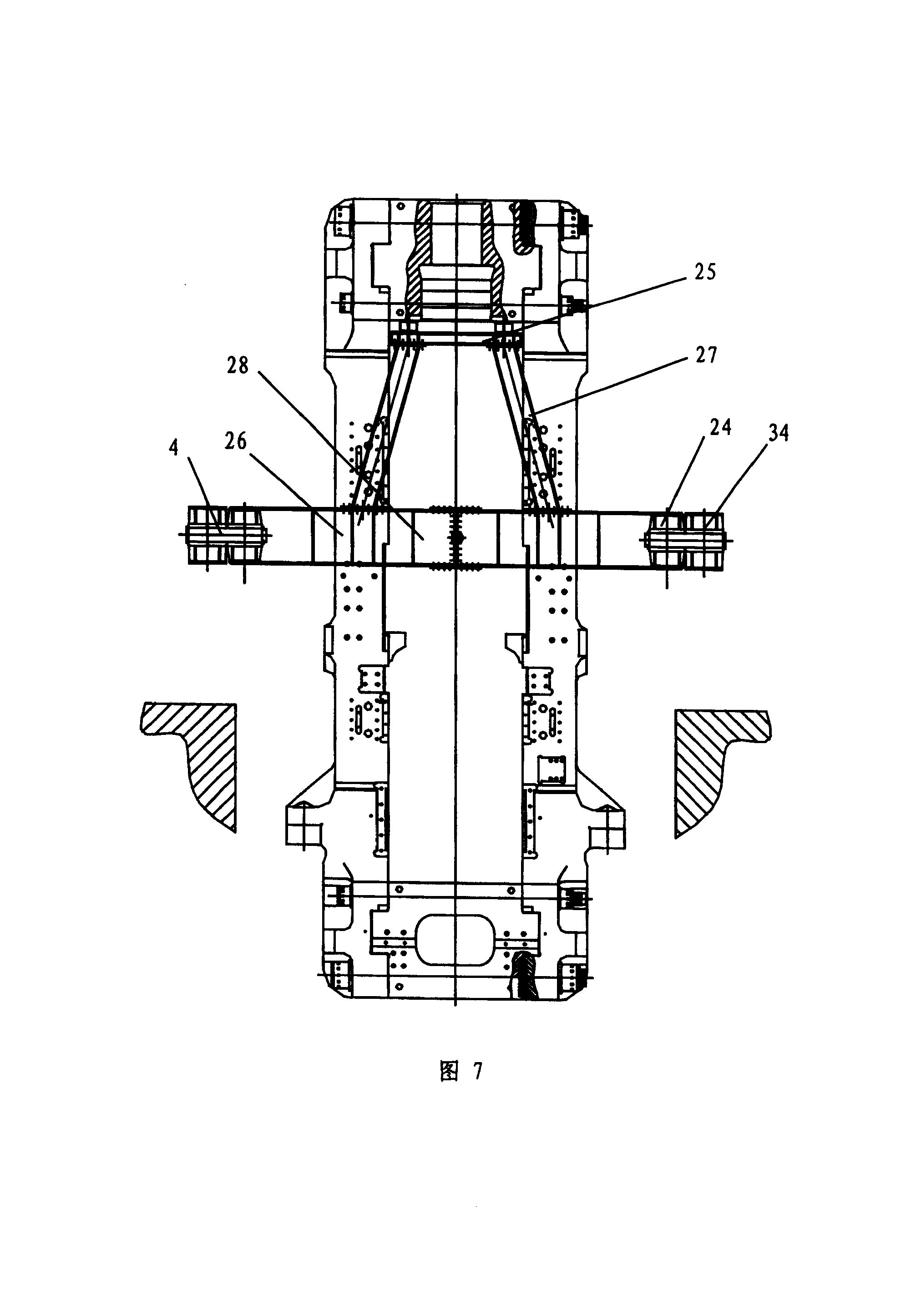
kbk柔性双梁悬挂起重机
图片尺寸2480x3507
如图所示是羊角锤的示意图,请画出用羊角锤撬铁钉时最小动力f的示意图
图片尺寸892x742
主动测量
图片尺寸376x560
一种免共振液压振动锤的制作方法
图片尺寸1835x1966
破碎锤分解图
图片尺寸1024x663
一种采用旋转平衡法吊装特大型设备的工艺方法
图片尺寸2013x2892
💪杠杆原理:放大投资收益与风险
图片尺寸1545x1177