平面磨床夹具

平面磨床夹具 冲子研磨机 迷你磨针机 磨床配件 gin-pgas
图片尺寸349x335
内圆磨床夹具
图片尺寸300x225
精密手动批士平口钳cnc磨床万力铣床台虎钳小型夹具机用直角夹钳
图片尺寸800x800
平面磨床必备的磁力夹具x11电磁吸盘
图片尺寸1920x1440
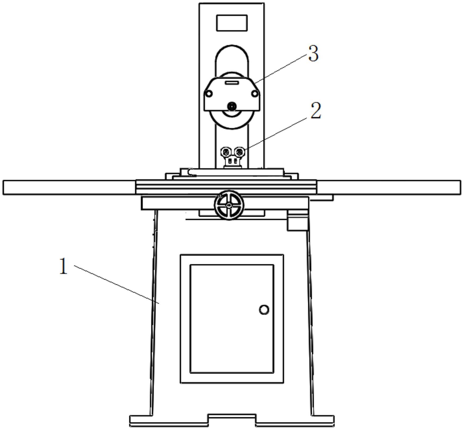
电脑数控平面磨床
图片尺寸750x750
衢州平面磨床推荐m7140平面磨床厂家生产
图片尺寸600x450
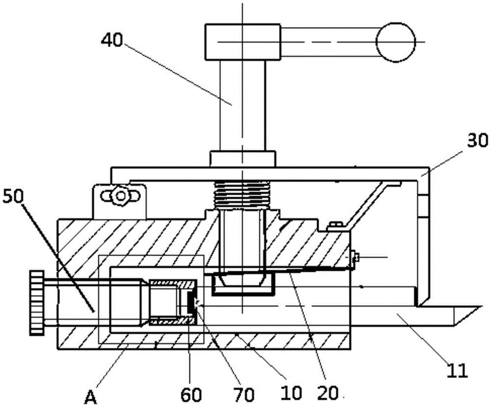
cn213225385u_一种平面磨床用夹具有效
图片尺寸1873x1737
雷焕家用小型平面磨床鸡心夹头机芯夹头自紧弹簧夹头车床外圆磨夹具 3
图片尺寸810x613
压紧状态▲ 连接erowa底板图▲ 压紧机构三,磨床线割夹具产品分析
图片尺寸614x574
精密小型平面磨床机600工具磨床配吸盘批示夹具刀具磨床现货工作台
图片尺寸790x1340
供应德春2寸手动磨床批士 磨床平口钳 工
图片尺寸963x459
一种平面磨床夹具的制作方法
图片尺寸1000x851
精密磨床直角夹具图片
图片尺寸300x300
注塑模具加工中最常用的十大夹具
图片尺寸1280x720
磨床夹具
图片尺寸1000x828
热销推荐十字夹具q97200 精密机床夹具 外贸平口钳
图片尺寸1597x966
00半岛忧伤21淘宝上海7120平面磨床砂轮夹盘砂轮法兰盘 砂轮夹具夹
图片尺寸300x300
精密小型平面磨床机 600工具磨床配吸盘批示夹具刀具磨床现货 磨床
图片尺寸790x1340
夹零件夹具图
图片尺寸820x575
一种磨床夹具
图片尺寸1716x1062