并列式简笔画

并列简笔画
图片尺寸700x425
排队式并列构图法简笔画
图片尺寸667x500
看图填空,并列式计算.()个23个13个?个?个?个?个_百度教育
图片尺寸514x358
并列式构图简笔画
图片尺寸500x486
小红从第1棵树跑到第6棵树,一共跑了多少米?
图片尺寸412x215
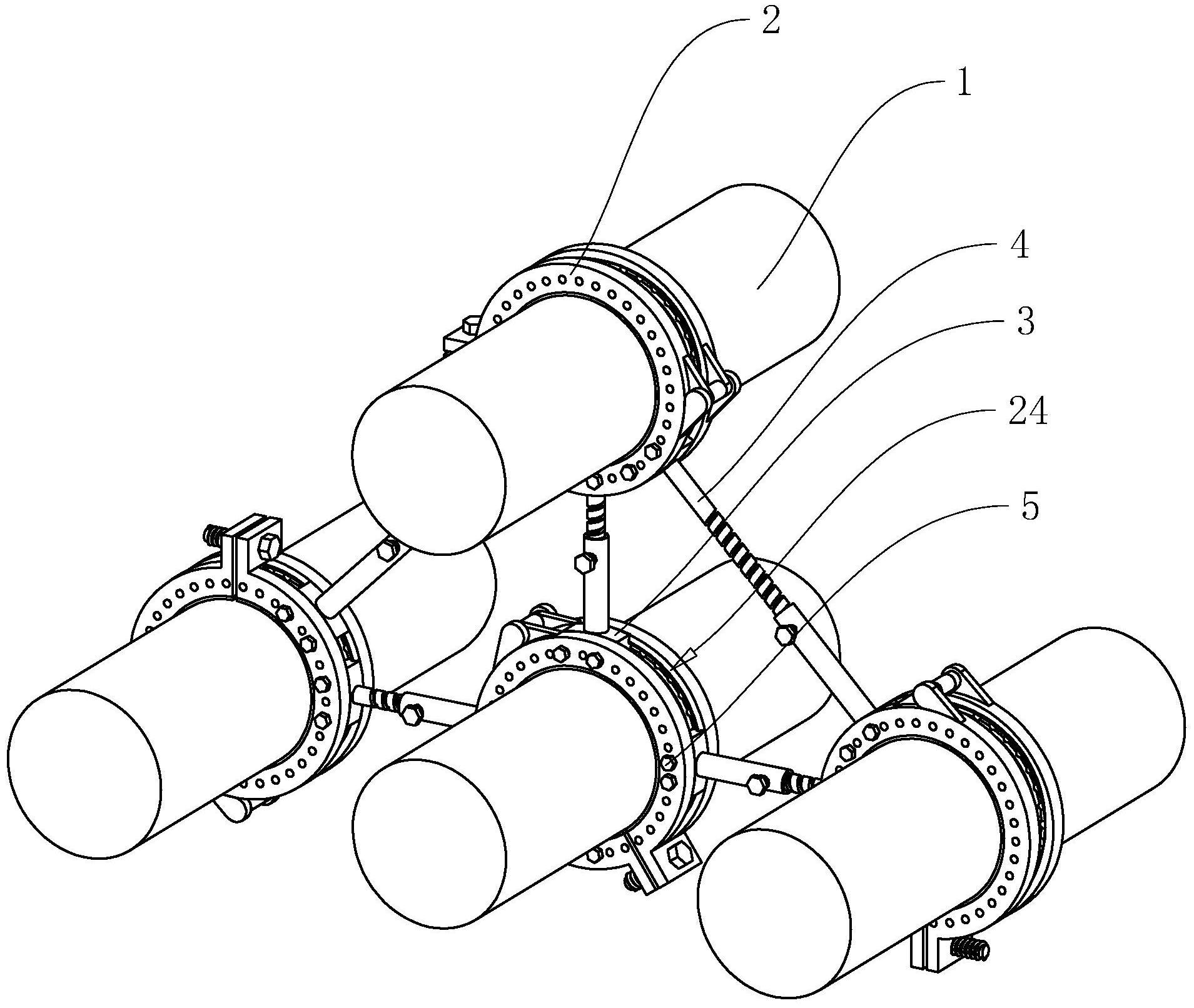
并列式给排水管道-爱企查
图片尺寸1909x1612
简笔画花草图片大全 简笔画花草图片大全彩色
图片尺寸400x575
一种并列式给排水管道的制作方法
图片尺寸574x227
并列风道式自然通风器
图片尺寸1878x1486
并列式构图简笔画
图片尺寸273x250
cn206278256u_一种并列式整体座舱罩结构有效
图片尺寸1225x905
一种并列式整体座舱罩结构的制作方法
图片尺寸1000x722
一吨煤运走了八分之五还剩下21千克请问这堆煤有多少吨?
图片尺寸3000x4000
一种可托物品的并列式自动人行道的制作方法
图片尺寸1000x752
可爱又好学的简笔画大全,笔画简单又好看,马住学起来了!
图片尺寸700x1103
一种并列式增压风力装置的制作方法
图片尺寸593x1000
水栖两路车简笔画视频
图片尺寸1000x381
各种可爱小动物简笔画大图
图片尺寸500x500
7岁幼儿简笔画软件
图片尺寸500x708
可爱的卡通大熊猫简笔画
图片尺寸600x400