并条机导条架配件

中国纺织机械样本库 - 中国纺机网 ttmn
图片尺寸1206x1673
并条机框式导条架组件-爱企查
图片尺寸2683x1694
一种用于纺织加工的并条机-爱企查
图片尺寸1859x1326
并条机
图片尺寸1000x592
立达并条机件拆配件岀 - 抖音
图片尺寸1440x1920
并条机数字化牵伸细节断条装置-爱企查
图片尺寸2013x1207
并条机中华人民共和国tm202012湖北天门纺俄机械股份有限公司hubei
图片尺寸1440x1920
纺织技术 | 自调匀整并条机防长细节的改造
图片尺寸462x347
颠覆传统的新一代智能并条机jwf1313型智能并条机
图片尺寸1280x674
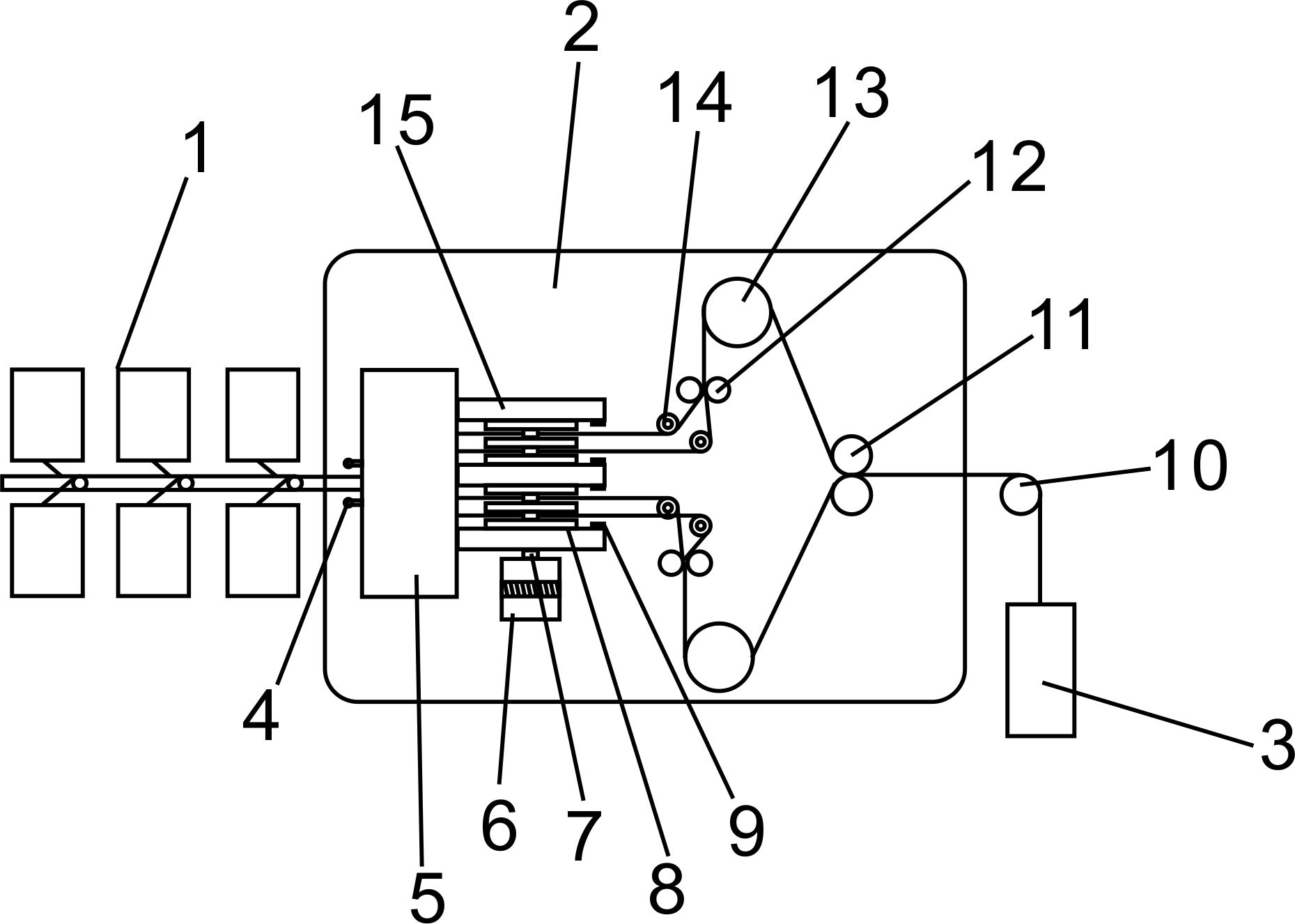
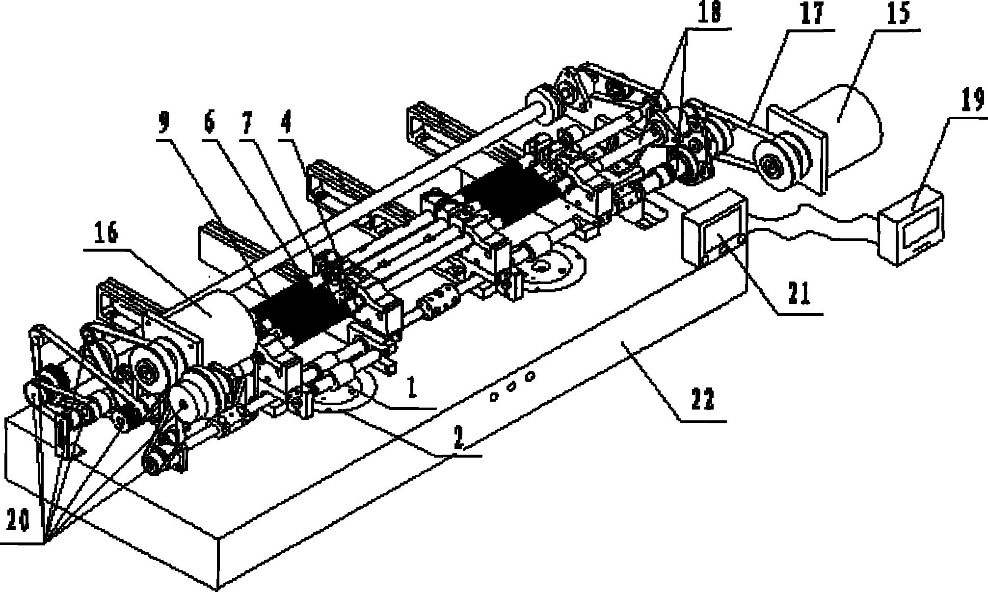
一种并条机的导条架的制作方法
图片尺寸1000x848
一种fa303型并条机导条架-爱企查
图片尺寸1470x1228
传统换筒方式是否最佳?_并条机
图片尺寸640x474
cn102747469a_一种并条机的导条架失效
图片尺寸440x488
天门d81s并条机多台热销中 #纺织 #纺纱 # - 抖音
图片尺寸1920x1440
沈阳宏大新出jwf1313型智能并条机
图片尺寸1280x674
立达新一代单眼并条机高速稳定运行,确保卓越品质
图片尺寸660x437
25 全部评论 大家都在搜: 德夏科技:乌斯特自调匀整并条机销售,配件
图片尺寸1440x1920
出售2021年立达d50并条机一节, 2016年立达d45并 - 抖音
图片尺寸1920x1440
立达d45并条机2台,d50并条机1台,桶高400*900 - 抖音
图片尺寸1920x1440
杭州东夏生产的961l自调匀整并条机一台,400×1100的 - 抖音
图片尺寸1440x1920