并条机工作原理

并条机
图片尺寸1000x592
简述柴油发电机组并机原理,使用方式及并机调试过程
图片尺寸600x312
因此从原理上来说,传统的火炮与电磁炮不同的只是发射方式.
图片尺寸450x356
实用┃并联机组运转前准备与检查
图片尺寸640x352
jwf1312系列并条机为何能够霸占市场?这些特质是关键!
图片尺寸1000x410
hy31型并条机自调匀整系统原理分析
图片尺寸609x665
台达产品在高速并条机的实际应用
图片尺寸425x355
我的美篇
图片尺寸750x500
并条机是纺纱工序中改善成纱质量,降低条干不匀率,减少纱疵,提高混和
图片尺寸494x261
fa311f型高速并条机电路图
图片尺寸1188x918
并联式混合动力汽车2
图片尺寸2400x1350
fa317并条机电路图
图片尺寸3578x2562
交直传动电力机车主电路ppt
图片尺寸1080x810
一种具有特殊性能的纤维制品生产中使用的并条机制造技术
图片尺寸566x275
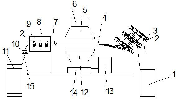
一种有效清理棉絮的并条机的制作方法
图片尺寸1000x576
cn106435871a_一种清洁型并条机失效
图片尺寸1000x662
并条机
图片尺寸164x200
jwf1312系列并条机为何能够霸占市场?这些特质是关键!
图片尺寸1000x411
一种带有速度调节机构的并条机
图片尺寸1644x1121
一种多功用并条机-爱企查
图片尺寸566x323