床体结构图

床的三种结构,分为框架结构,箱框结构,气压结构.
图片尺寸640x427
床架结构稳固 床架结构稳固不易变形,承重力好,床提承重
图片尺寸800x565
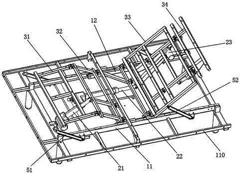
一种床体结构的制作方法
图片尺寸1000x627
一种床体结构的制作方法
图片尺寸953x598
一种便于拆卸和组装的新型床体结构的制作方法
图片尺寸444x383
床内部结构图
图片尺寸960x499
一种电动床结构
图片尺寸481x350
钢结构公寓床
图片尺寸820x536
四折折叠床-结构图
图片尺寸790x556
护理床体结构制造技术
图片尺寸1000x867
床是什么结构一般都是半包围结构
图片尺寸356x280
多功能医用护理床的结构设计及优化-正文.doc
图片尺寸792x1120
护理床体结构
图片尺寸890x778
钢结构公寓床
图片尺寸820x508
一种医疗床滑轨升降结构的制作方法
图片尺寸1000x747
8米空体床可升降床体15 支架结构
图片尺寸800x800
5米空体床床体高度三挡调节 支架结构
图片尺寸800x800
双人床硬板 全新镂空(纯木) 高度20厘米三龙 1500mm*2000mm 框架结构
图片尺寸800x800
第一章散货船定义及船体结构特点
图片尺寸681x277
固定式混合床的结构如何
图片尺寸600x951