床连接件五金件图

阿斯卡利加厚床铰链床插实木床扣螺丝床用挂件固定连接件家具配件五金
图片尺寸800x800
久益祥家具五金三合一连接器 定做 供应三合一连接器连接件紧固件锤子
图片尺寸750x510
大板床铰链床扣连接件实木床背板五金配件重型床挂钩修床加固角码【图
图片尺寸990x1120
家具五金半月四合一连接件床三合一拼装件餐桌床头螺丝偏心轮配件
图片尺寸790x933
床铰链挂件 床插配件 床插件五金挂件 床仔铰老式床扣 家具连接件 床
图片尺寸800x800
大板床铰链床扣连接件实木床背板五金配件重型床挂钩修床加固角码【图
图片尺寸750x800
连接件 五金大额优惠券
图片尺寸800x784
加厚床挂钩床用五金配件连接件床插床扣床腿床铰链床固定配件家用
图片尺寸800x800
【木工五金家具配件连接件床图片】木工五金家具配件连接件床图片大全
图片尺寸300x300
加厚家具螺丝床铰床挂片隐形床连接件床铰链 床挂码 床扣五金挂件-阿
图片尺寸1920x1920
五金挂件床扣家具连接件床铰链床用五金 床角码 床配件
图片尺寸750x750
加厚床铰链床关铰床挂扣重型实木床连接件镜框挂画家具五金配件 大号
图片尺寸790x837
加厚床铰链实木床配件高低床固定五金重型角码床铰挂钩插钩连接件 一
图片尺寸790x437
床挂件挂件-床挂件挂件厂家,品牌,图片,热帖-阿里巴巴
图片尺寸960x960
加厚家具螺丝床铰床挂片隐形床连接件床铰链 床挂码 床扣五金挂件-阿
图片尺寸1920x1920
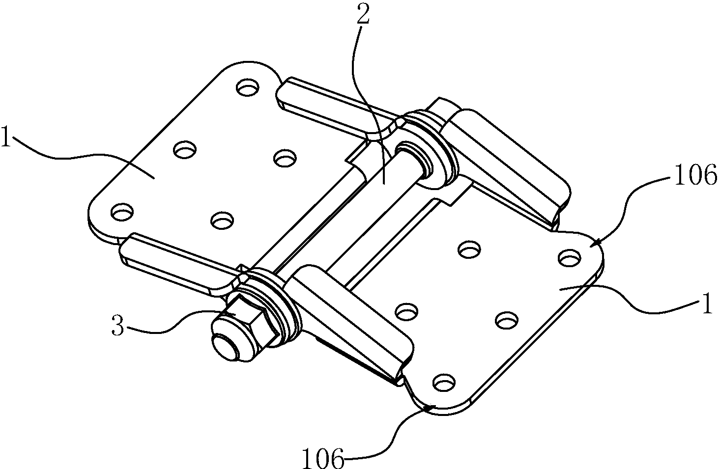
一种用于电动床床板连接的铰链机构及电动床专利_专利查询 - 天眼查
图片尺寸1465x955
萌碎家具五金23113 加厚床铰链床插销床扣家具隐形床配件连接件螺丝床
图片尺寸800x800
新升级 床架固定器 五金固定配件加厚床插重型床挂钩床铰链床扣家具连
图片尺寸790x1267
【床铺固定架】床铺固定架品牌,价格 - 阿里巴巴
图片尺寸300x300
不锈钢床五金床铰链重型连接件加厚大床铰实木板式家具螺丝床挂钩旺农
图片尺寸750x1045