底座图片结构图

1底座零件图pdf
图片尺寸800x568
a4底座零件图pdf
图片尺寸800x566
底座零件图pdf
图片尺寸800x566
一种机器人底座的制作方法
图片尺寸1000x879
底座pdf
图片尺寸800x566
底座pdf
图片尺寸800x566
底座装配图
图片尺寸820x574
cn213321341u_一种可快速定位安装的注塑机底座结构有效
图片尺寸1860x1912
底座
图片尺寸360x443
底座
图片尺寸1600x781
cn201201531y_一种儿童汽车座的底座失效
图片尺寸2145x1927
机械零件底座ug练习图纸
图片尺寸583x668
底座零件图
图片尺寸671x474
风力驱动器底座数控加工【含cad图纸终稿】
图片尺寸1200x800
cn213003743u_一种大理石机床底座结构
图片尺寸526x375
一种钢结构柱底座的制作方法
图片尺寸1000x923
cn213118151u_一种灌胶机的缓冲底座
图片尺寸1853x996
底座
图片尺寸820x588
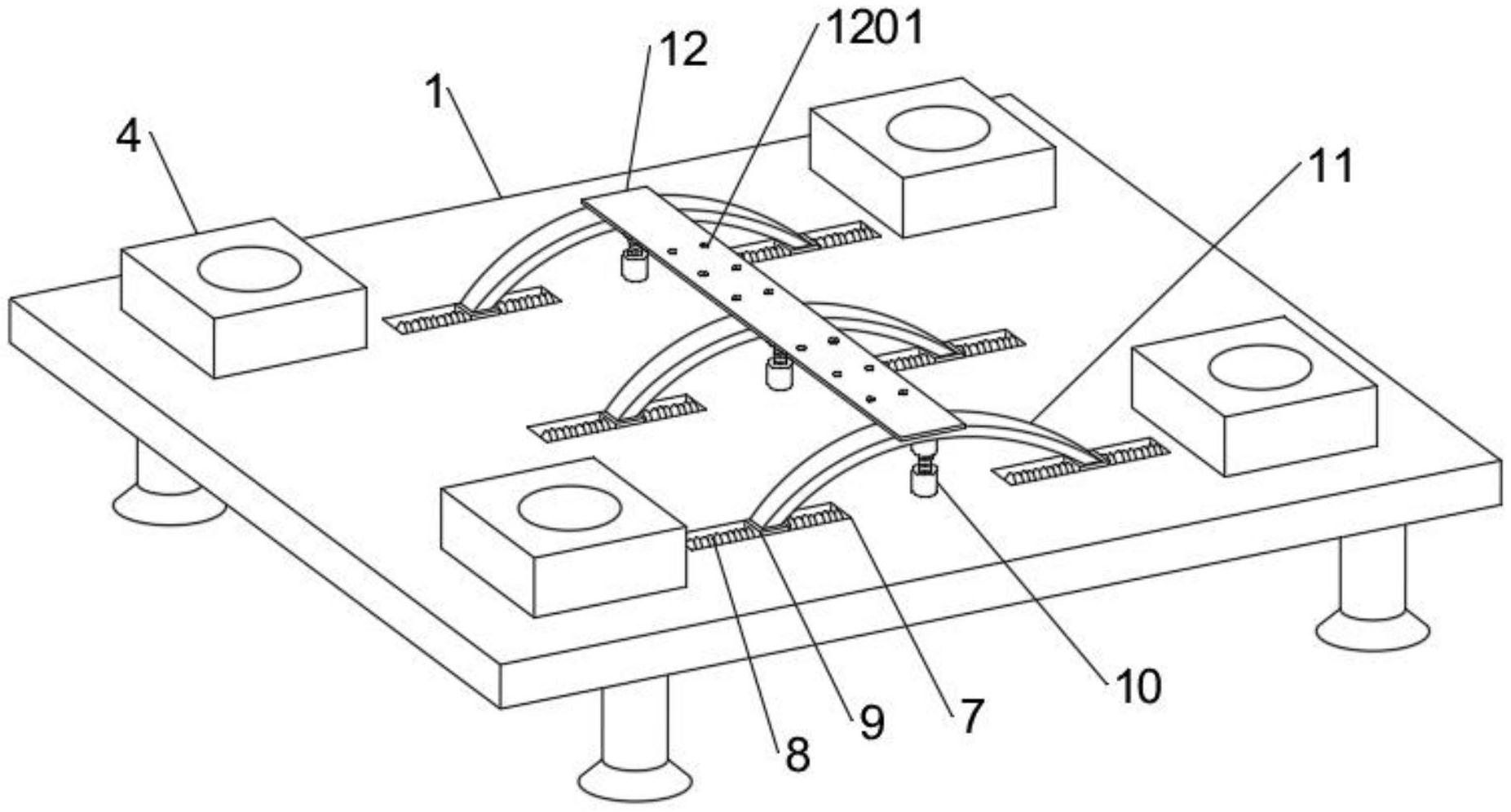
一种具有减震功能且减震平稳性高的底座制造技术
图片尺寸1000x660
大多数的底座结构较复杂.
图片尺寸1000x989