底阀内部结构图

h42x升降式多瓣式双瓣式底阀
图片尺寸529x486
底阀2
图片尺寸849x704
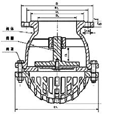
h42x铸铁法兰底阀结构图
图片尺寸506x293
cn201779271u_一种罐底阀有效
图片尺寸1952x2276
升降无磨损水上式底阀
图片尺寸343x360
不锈钢底阀结构图
图片尺寸296x336
一种海底阀
图片尺寸897x1000
水上底阀结构图
图片尺寸305x283
底阀的结构原理及性能特点
图片尺寸600x614
h12x-16双门底阀结构图.png
图片尺寸700x701
底阀简介
图片尺寸538x632
升降式底阀
图片尺寸1351x1496
h42x铸铁法兰底阀
图片尺寸512x350
h42x升降式底阀结构示意图
图片尺寸200x206
不锈钢法兰底阀结构图
图片尺寸370x342
铸铁底阀 铸铁底阀结构图
图片尺寸471x267
h42x不锈钢法兰底阀
图片尺寸464x361
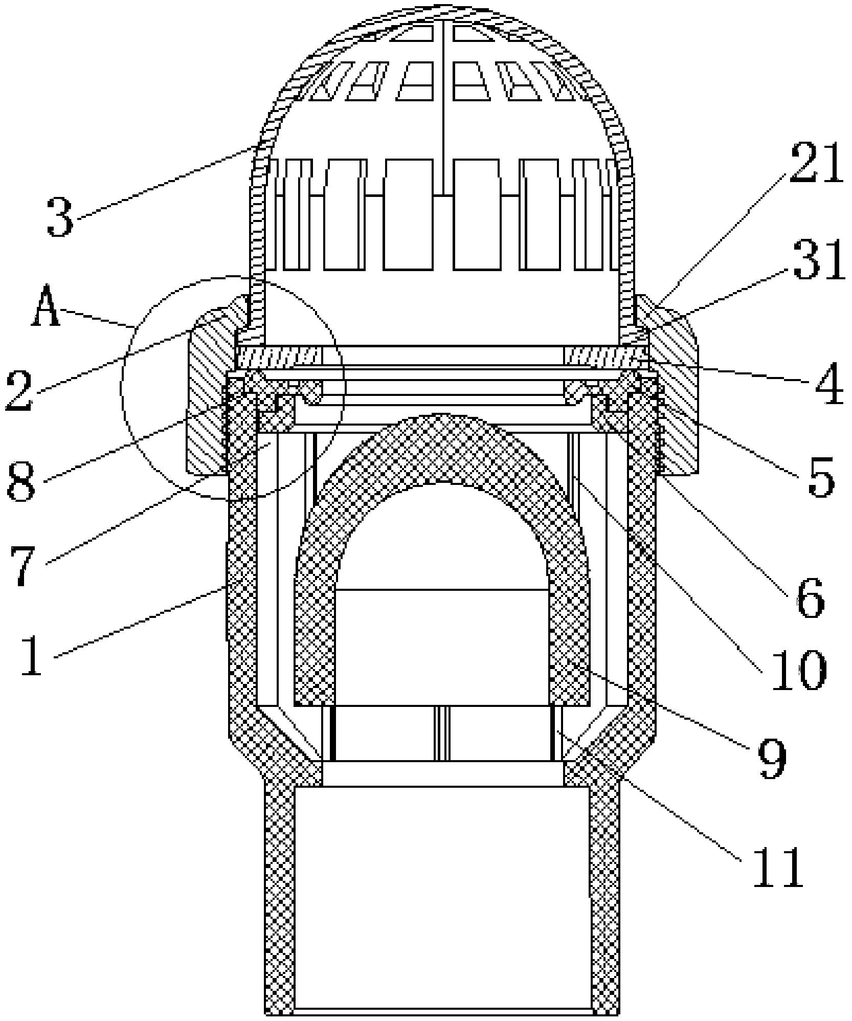
包括中空筒状腔体结构的底阀本体,底阀本体的上部与螺帽对应可拆连接
图片尺寸1666x1996
一种带吹洗功能的海底阀的制作方法
图片尺寸811x1000
h42x升降式底阀
图片尺寸266x248