废水吸附装置

便捷式移动树脂吸附系统-工业废水处理
图片尺寸1080x1440
江西吸附硝酸盐废水除总氮硝酸盐氮品牌硝酸盐氮总氮
图片尺寸980x622
污水厂生物除臭法
图片尺寸2560x1922
工厂污水处理吸附过滤装置厂家供应全自动反冲洗多介质过滤器
图片尺寸780x780
实验装置给排水工程实验装置是运用吸附的方法,去除水和废水中异味
图片尺寸384x512
供应医院污水处理设备 运行安全可靠
图片尺寸800x600
活性炭吸附处理污水实验,hjgc-40污水活性炭吸附实验装置
图片尺寸550x460
布袋除尘 活性碳吸附再生装置
图片尺寸400x300
对废水中的cr(vi)进行了吸附研究,在醉佳实验条件下,废水中残留的cr
图片尺寸500x500
工程整套废气废水处理设备
图片尺寸730x740
印染废水的吸附过滤处理系统
图片尺寸1652x1102
大孔径阴离子交换树脂废水处理吸附剂
图片尺寸650x488
活性炭吸附塔 - 工程整套废气废水处理设备
图片尺寸730x547
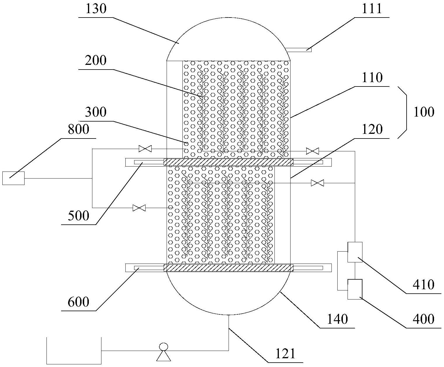
废水吸附处理装置
图片尺寸1519x1256
惠州食品厂废水处理工艺流程详情描述
图片尺寸700x700
活性炭在水处理中的应用,涂山环保分享|有机物|废水|吸附剂_网易订阅
图片尺寸650x366
污水处理设备过滤罐过滤设备石英砂活性炭净水吸附杂质过滤器
图片尺寸750x750
10.过滤器吸附设备的反冲洗是通过增压泵从池中抽取废水进行的.
图片尺寸3462x2285
山东青岛董家口污水处理厂活性炭吸附案例
图片尺寸831x594
环境工程实验装置
图片尺寸610x278