座板装置图片

任意高度进行作业的工作系统,由工作绳,下降器,连接器和座板装置组成
图片尺寸533x289
外墙安全坐板滑板吊板座板蜘蛛人套装外墙清洗加宽加厚高空作业防坠落
图片尺寸790x1071
供应高空外墙清洗座板
图片尺寸600x728
供应安全座板|高空坐板|清洗板|高空吊板|高空坐板,高空清洗装置
图片尺寸360x552
【高空坐板】【华兴安】高空清洗坐板,登高板,高空作业坐板,外墙清洗
图片尺寸500x666
坐板户外防坠落加厚吊板外墙清洗安全带滑板高空作业座板榆木安全坐板
图片尺寸800x800
安全消防救生装置及其产品制造技术
图片尺寸1000x928
安全座板高空作业墙外清洗救援逃生软体坐板 厂价直销2
图片尺寸800x800
厂家特供优质高空清洗座板,登高座板, 高空座板,安全外墙座板
图片尺寸1920x1440
高空作业安全座板 安全吊板 安全带防坠落 外墙清洗跳板批发坐板图片
图片尺寸660x660
外墙安全坐板滑板吊板座板蜘蛛人套装外墙清洗加宽加厚高空作业防坠落
图片尺寸790x1020
贴片铝电解电容器上座板装置
图片尺寸1750x1803
设备台座安装限位装置,有效控制设备水平移位. 保温篇
图片尺寸1080x1620
一种船用单面座板的安装装置
图片尺寸1665x1340
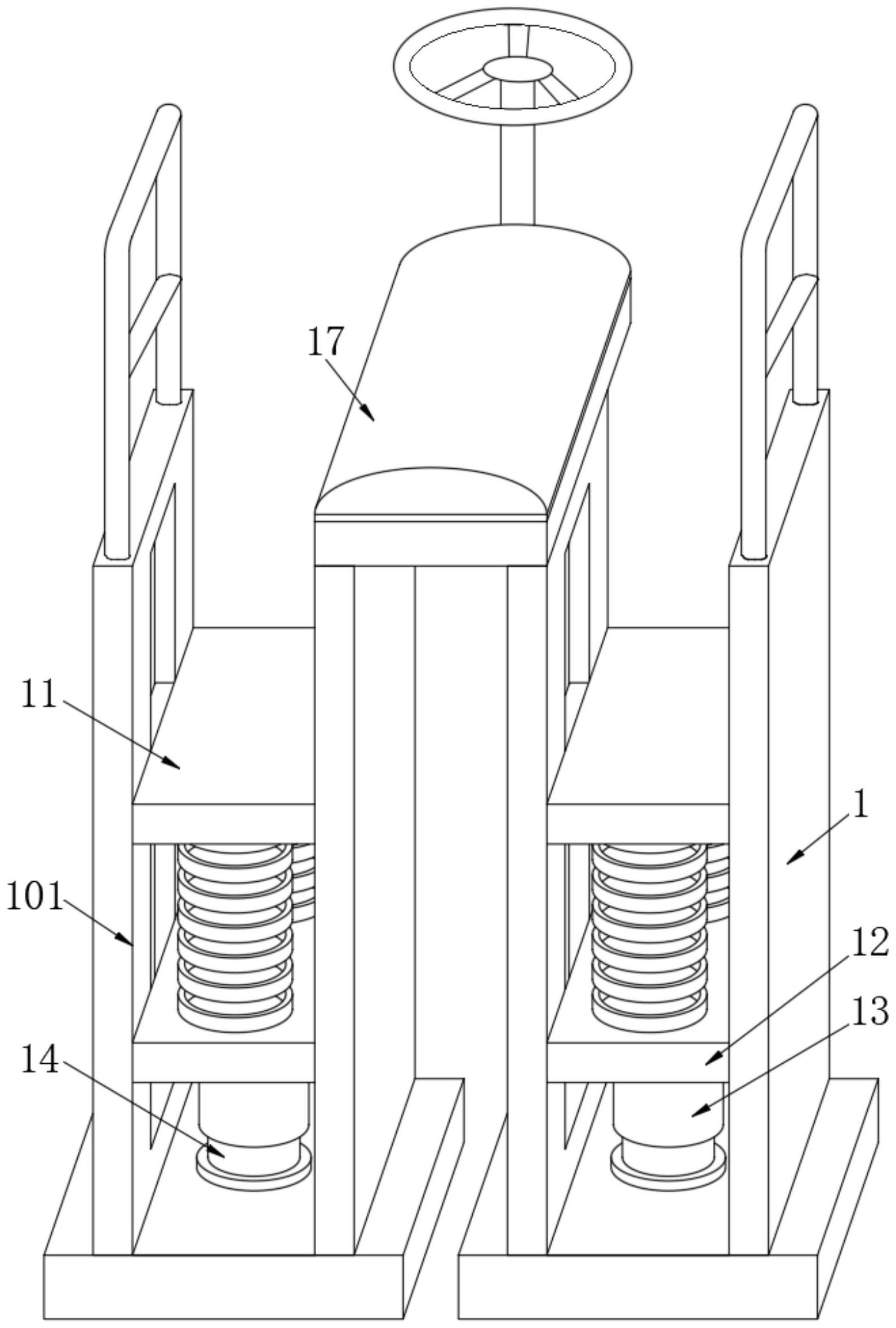
一种上座板装置的制作方法
图片尺寸712x1000
弹性滑板支座
图片尺寸2560x1440
高空安全座板吊板安全绳户外防坠落蜘蛛人专用外墙吊绳宽滑板加厚
图片尺寸800x800
cn2235997y_一种用于高层建筑物外墙清洁的载人装置失效
图片尺寸1183x2000
独脚站脚可选配下送风装置,有效改善礼堂/剧院内的空气流通,座背板
图片尺寸959x719
具体公开了一种康复科用多功能行走锻炼装置,包括:两个底座,所述底座
图片尺寸1590x2357