座板装置组成

任意高度进行作业的工作系统,由工作绳,下降器,连接器和座板装置组成
图片尺寸533x289
座椅位于生产厂家指定的乘坐基准位置,hpm-Ⅱ采用合适的姿态,在其座板
图片尺寸414x490
一种带有伸缩座板的高空作业安全带的制作方法
图片尺寸1000x928
一种船用单面座板的安装装置
图片尺寸1665x1340
贴片铝电解电容器上座板装置
图片尺寸1750x1803
贴片铝电解电容器上座板装置的制作方法
图片尺寸970x1000
一种船用单面座板的安装装置的制作方法
图片尺寸1000x806
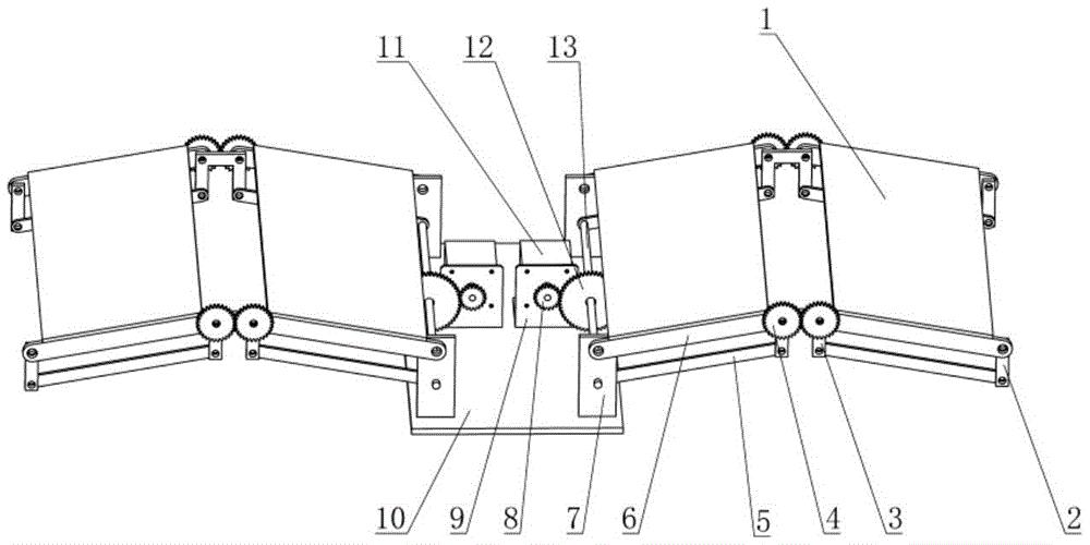
一种座板类毛坯件加工装置的制作方法
图片尺寸428x443
cn2331570y_脚踏车座板升降架失效
图片尺寸1728x1871
锂电池栈板固定座装配图栈板自动定位和检测装置,包括前支撑板,后支撑
图片尺寸820x528
防尘板座除锈装置和方法
图片尺寸1936x1928
摘要:本实用新型公开了一种换板纸的装置,包括升降组件和推换组件,所
图片尺寸400x320
支架座板
图片尺寸740x530
cn213196571u_一种包装机工位座板生产用夹紧装置
图片尺寸442x419
工业缝纫机针板座多工位半自动固定装置
图片尺寸1189x989
一种新型施工升降机吊笼安全器座板装置-爱企查
图片尺寸665x800
一种用于座椅的座板钻孔装置-爱企查
图片尺寸1546x1233
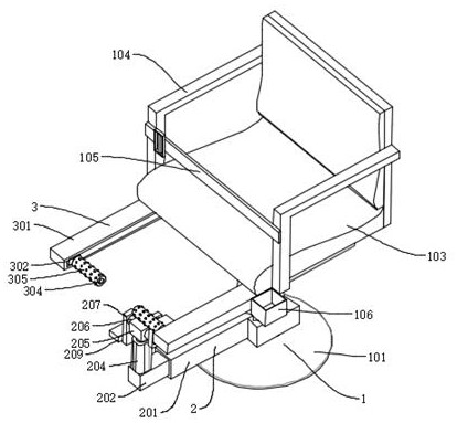
包括座椅,所述座椅主要由底座,升降单元,座板,侧杆,安全带,工具箱组成
图片尺寸414x383
一种太阳能板折叠装置
图片尺寸1000x500
具体的说是一种工艺品展示用装置,包括底座,支撑板,防护圈以及夹持
图片尺寸800x588