建业物业温婷

温婷老师新课物业人基本功52堂私房课教你如何牛年变大牛
图片尺寸1080x732
服务力对话建业新生活温婷服务管理经营服务力服务力的背后是整个组织
图片尺寸1080x1650
共赴新征程丨建业物业与鼎辉物业合作签约仪式举行
图片尺寸1076x1500
新闻资讯-建业物业-河南建业物业管理有限公司
图片尺寸1002x2262
用心倾听,笃学致远——建业物业管家服务部呼叫指挥中心第一届业务
图片尺寸2448x1833
建业物业多元化服务,守护您的爱家
图片尺寸667x367
姜枣茶便民服务爱心萝卜一份来自南阳建业物业让您暖心又暖胃的爱
图片尺寸1080x810
新闻资讯-建业物业-河南建业物业管理有限公司
图片尺寸2002x2472
建业物业洛阳区域三门峡片区管家主管付旭阳
图片尺寸1080x1620
新闻资讯-建业物业-河南建业物业管理有限公司
图片尺寸4032x2688
用心倾听,笃学致远——建业物业管家服务部呼叫指挥中心第一届业务
图片尺寸4032x2688
迎春纳福建业物业送暖不停歇
图片尺寸2448x2448
共赴新征程丨建业物业与鼎辉物业合作签约仪式举行
图片尺寸1080x720
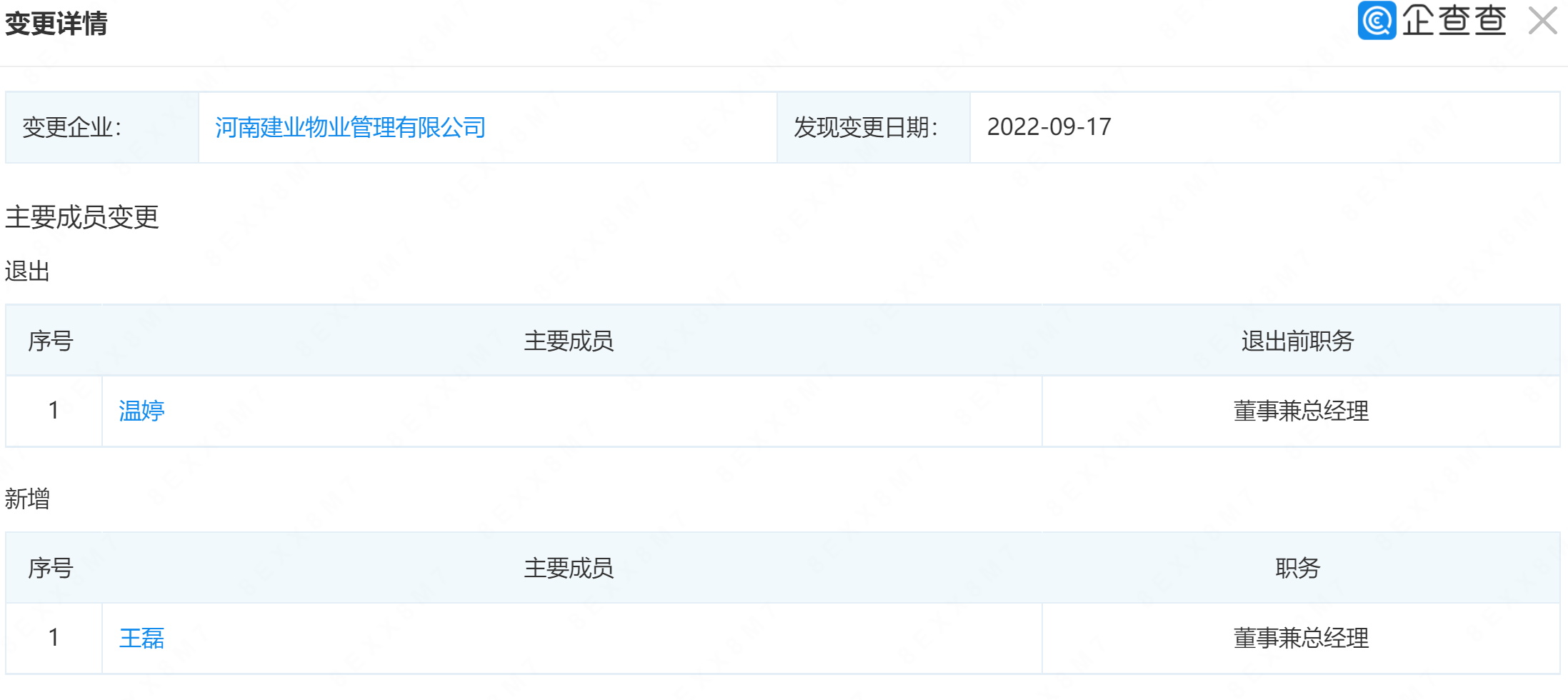
建业物业:温婷退出董事兼总经理职务,王磊接任
图片尺寸2195x980
物业外拓详请 - 建业新生活
图片尺寸3840x2160
因爱而武建业物业2019年基础服务大比武复赛正式启动
图片尺寸2448x2448
建业物业用服务焕新说出爱的告白词
图片尺寸1080x811
建业物业|建业小区为啥越住越舒服?_园区_业主_建筑
图片尺寸1080x1417
建业物业:温婷退出董事兼总经理职务,王磊接任
图片尺寸1269x245
建业物业祝您元宵节快乐猪事皆圆
图片尺寸1080x810