开式叶轮零件图

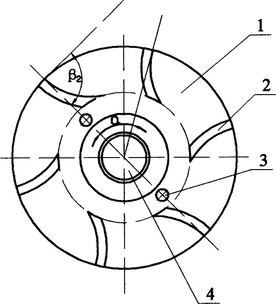
一种高速泵用开式叶轮结构的制作方法
图片尺寸1000x936
涡轮机叶轮a2蜗壳零件图a1增压器轴a2压气机叶轮a1图纸参数图纸id
图片尺寸841x594
船用水泵叶轮加工工艺
图片尺寸851x1068
船用水泵叶轮加工工艺
图片尺寸914x1089
叶轮零件图.dwg
图片尺寸1200x800
叶轮(开式)
图片尺寸820x507
一种高效半开式叶轮的制作方法
图片尺寸443x441
p data-id="gn3kxppwt5">开式叶轮在叶片两侧无盖板,制造简单,清洗
图片尺寸1887x1000
泵盖泵体叶轮零件图
图片尺寸820x582
半开式叶轮增压结构-爱企查
图片尺寸892x985
一种防堵塞半开式叶轮-爱企查
图片尺寸1552x1486
半开式叶轮耐磨板调整装置-爱企查
图片尺寸754x1231
solidworks产品造型设计实训教程第16章叶轮ppt
图片尺寸800x600
零件名称:叶轮 毛坯尺寸为:110×110×20,材料a3钢或按图纸
图片尺寸1221x1454
一种半开式叶轮的制作方法
图片尺寸590x391
请万能网友帮忙画下叶轮的工艺,零件图.
图片尺寸3510x2550
一种中开式水泵叶轮制造技术
图片尺寸1000x843
一种用于含有粗纤维污水处理用的半开式叶轮
图片尺寸373x444
一种半开式叶轮的制作方法
图片尺寸332x443
一种离心泵半开式叶轮
图片尺寸1375x1112