开沟犁(专利产品)

手拉犁人力开沟犁起垄器耕地犁开沟器农用微耕机铧式犁捞犁地神器
图片尺寸790x1198
1k-120型 开沟犁-开沟犁系列-产品中心-新泰市金源机械科技有限公司
图片尺寸2008x1506
人力微耕机铧式犁手捞犁手拉犁开沟犁起垄器开沟器农机具
图片尺寸800x800
开沟犁人力农发手拉犁开沟器微耕机.锄地机械翻土农用工具手扶
图片尺寸300x300
新款升级四轮拖拉机配套开沟起垄犁培土犁开沟器扶沟犁红薯收获犁
图片尺寸300x300
手拉犁人力微耕机铧式犁手捞犁手拉犁开沟犁起垄器开沟器 c款
图片尺寸800x800
液压提铧单轴整地机_专利旋耕机系列_产品展示_黑山县田鑫农机装备厂
图片尺寸1280x960
耕种机械耕地机铸铁锄地犁杖犁铧农用机开沟犁起垄犁地果园好帮手
图片尺寸480x480
耕种机械耕地机铸铁锄地犁杖犁铧农用机开沟犁起耕种机械
图片尺寸802x802
防撞缓冲车.重汽汕德卡防撞缓冲车 诱导剪头灯(专利产品)可左 - 抖音
图片尺寸1280x853
专利证书:一种播种机可调式开沟器
图片尺寸650x488
双管施肥开沟犁-智农361-国际专利·农资器具展示交易平台
图片尺寸1368x1312
sade 助力机械手(专利产品)
图片尺寸650x750
飞利浦空调因专利侵权被重罚,格力原高管明知故犯?
图片尺寸640x427
7 - 双管施肥开沟犁 - soopat专利搜索
图片尺寸360x345
x - 可调入土角度的开沟犁 - soopat专利搜索
图片尺寸360x338
开沟犁专利_专利申请于2004-05-20_专利查询 - 天眼查
图片尺寸609x600
每个种植机构自前至后依次包括施肥开沟犁,种植开沟犁,切种器和覆土
图片尺寸1555x817
摘要:本实用新型专利公开了一种开沟覆膜机,其主要特征在于:牵引架,前
图片尺寸515x474
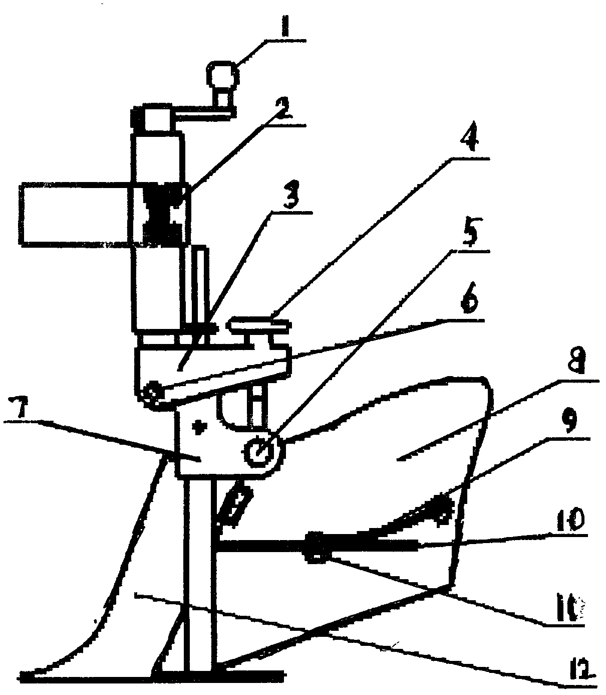
开沟犁专利_专利申请于2011-11-23_专利查询 - 天眼查
图片尺寸1210x1386